EasyManua.ls Logo

GUTMANN Fonda - 3 Descrição Do Aparelho

GUTMANN Fonda
Print Icon
To Next Page IconTo Next Page
To Next Page IconTo Next Page
To Previous Page IconTo Previous Page
To Previous Page IconTo Previous Page
Loading...
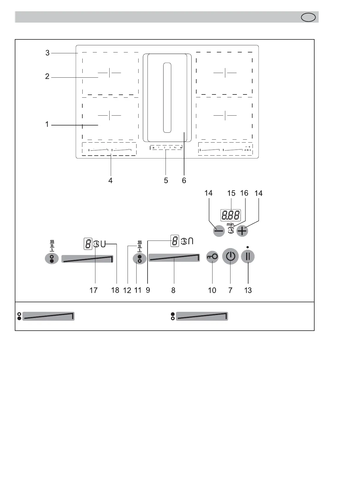
Descrição do aparelho
114
P
3 Descrição do aparelho
A aparência pode divergir das ilustrações.
1. Zona de cozinhar de indução frontal
2. Zona de cozinhar de indução traseira
3. Placa vitrocerâmica
4. Painel de comando Touch-Control
5. Controlo do ventilador
6. Ventilador
7. Tecla LIG/DESL (placa de cozinhar)
8. Campo de sensor
9. Indicador dos níveis de cozimento
10. Tecla de bloqueio
11. Tecla para manter quente
12. Indicador do nível de manutenção do calor (3 níveis)
13. Tecla STOP (símbolo de pausa)
14. Tecla Menos / Mais do temporizador
15. Indicador do temporizador
16. Indicação de marcador de tempo
17. Indicação de temporizador das zonas de cozinhar
18. Função de ponte
Campo de sensor para a
zona de cozinhado dian-
teira
Campo de sensor para
a zona de cozinhado
traseira

Table of Contents

Related product manuals