EasyManua.ls Logo

GUTMANN Fonda - 3 Descrizione Dellapparecchio

GUTMANN Fonda
Print Icon
To Next Page IconTo Next Page
To Next Page IconTo Next Page
To Previous Page IconTo Previous Page
To Previous Page IconTo Previous Page
Loading...
Descrizione dell'apparecchio
78
I
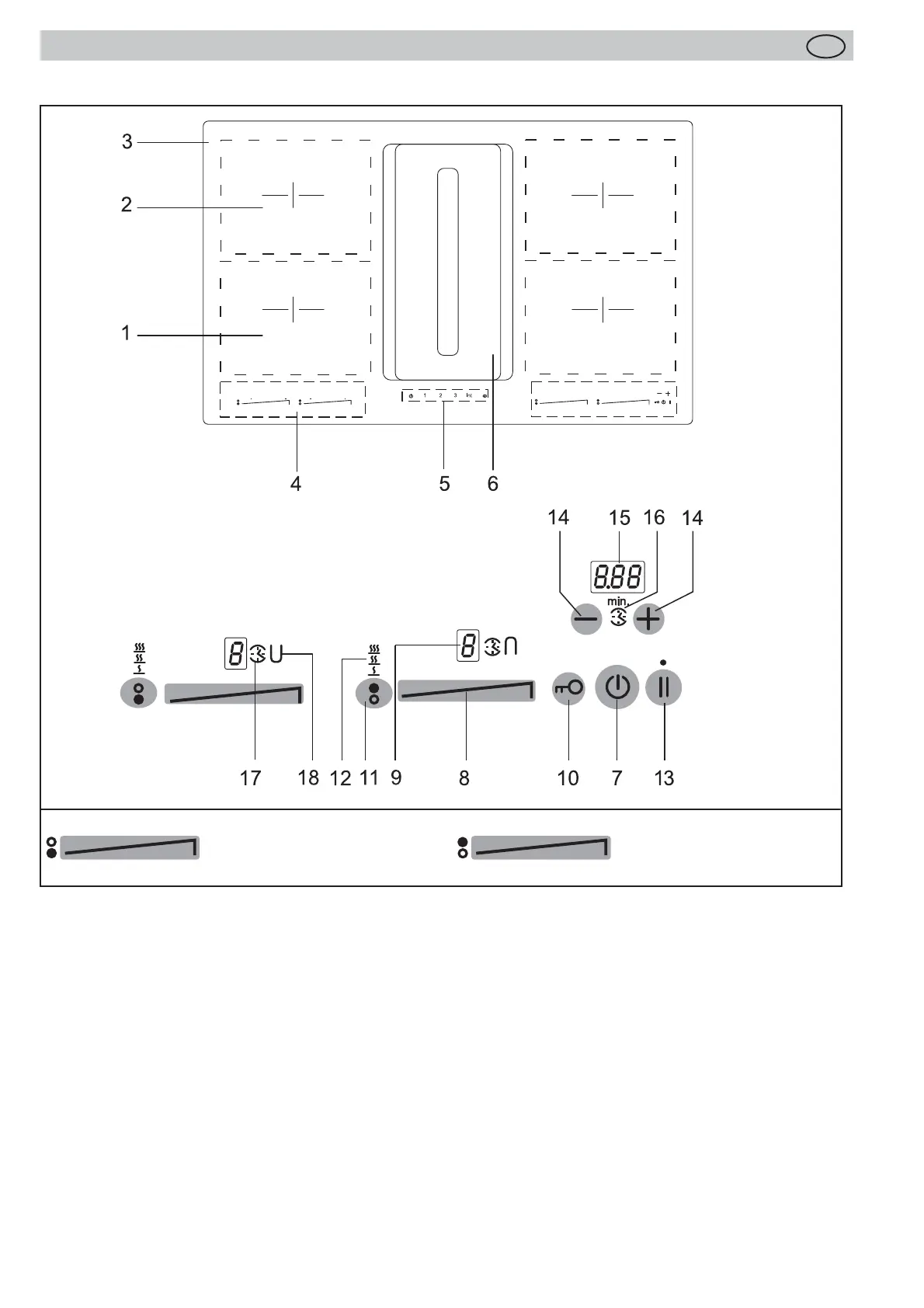
3 Descrizione dell'apparecchio
La decorazione del piano può diff erire dalle illustrazioni.
1. Zona di cottura ad induzione anteriore
2. Zona di cottura ad induzione posteriore
3. Dimensioni del piano di cottura
4. Pannello comandi Touch-Control
5. Comando del ventilatore
6. Ventilatore
7. Tasto di accensione/spegnimento del piano di cottura
8. Campo di regolazione
9. Indicazione del livello di cottura
10. Tasto di bloccaggio (sensori)
11. Tasto scaldavivande
12. Indicazione dei livelli di mantenimento in caldo
(3 livelli)
13. Tasto STOP (indicazione pausa)
14. Tasto Meno/Più del ventilatore
15. Indicazione timer
16. Indicazione contaminuti
17. Indicazione per timer contaminuti
18. Funzione Ponte
Campo sensorico per
zona di cottura
anteriore
Campo sensorico
per zona di cottura
posteriore

Table of Contents

Related product manuals