EasyManua.ls Logo

GUTMANN Fonda - 3 Beschrijving Van Het Toestel

GUTMANN Fonda
Print Icon
To Next Page IconTo Next Page
To Next Page IconTo Next Page
To Previous Page IconTo Previous Page
To Previous Page IconTo Previous Page
Loading...
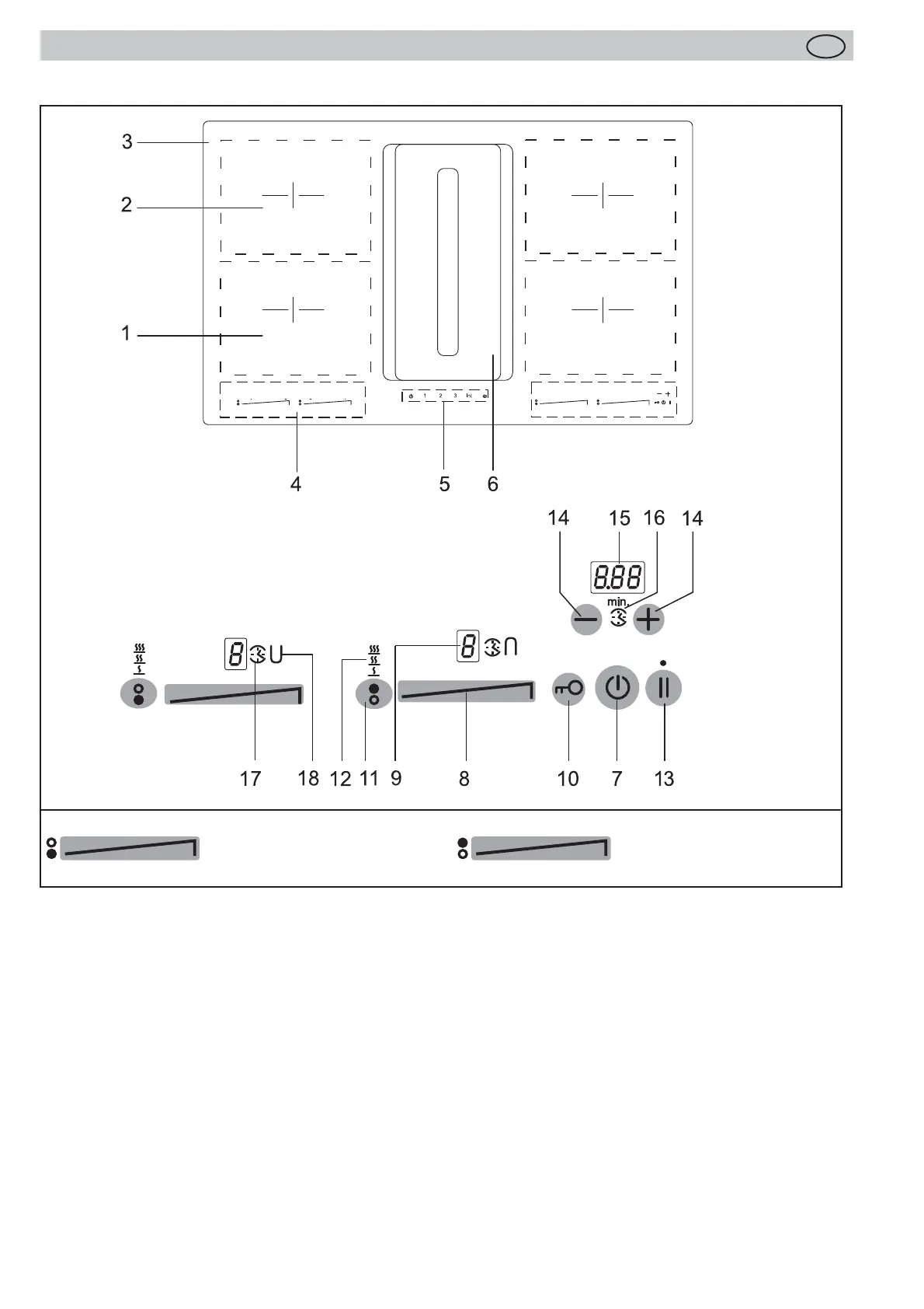
Beschrijving van het toestel
60
NL
3 Beschrijving van het toestel
Het decor kan van de afbeeldingen afwijken.
1. Inductiekookzone voor
2. Inductiekookzone achter
3. Keramische kookplaat
4. Touch-control-bedieningsveld
5. Ventilatoraansturing
6. Ventilator
7. Aan/Uit-toets (kookplaat)
8. Sensorveld
9. Kookstandweergave
10. Vergrendeltoets
11. Warmhoudtoets
12. Aanwijzing van de warmhoudstand (3 standen)
13. STOP-toets (pauzefunctie)
14. Min-/plus-toets timer
15. Timer-weergave
16. Aanwijzing voor kookwekker
17. Aanwijzing voor kookzonetimer
18. Brugfunctie
Sensorveld voor de
kookzone voor
Sensorveld voor de kook-
zone achter

Table of Contents

Related product manuals