EasyManua.ls Logo

GUTMANN Fonda - Appliance Description

GUTMANN Fonda
Print Icon
To Next Page IconTo Next Page
To Next Page IconTo Next Page
To Previous Page IconTo Previous Page
To Previous Page IconTo Previous Page
Loading...
Appliance description
24
GB
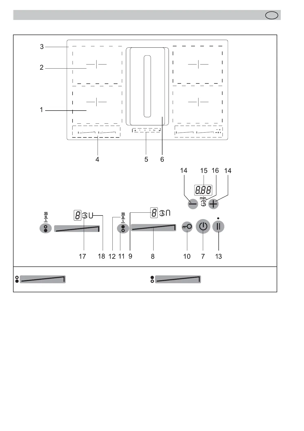
3 Appliance description
The decorative design may deviate from the illustrations.
1. Front induction cooking zone
2. Rear induction cooking zone
3. Glass ceramic hob
4. Touch-Control panel
5. Fan control
6. Fan
7. ON / OFF key (hob)
8. Sensor fi eld
9. Power setting display
10. Lock key
11. Warming key
12. Display of keep-warm function (3 levels)
13. Stop key (pause)
14. Minus key /Plus key Timer
15. Timer indication
16. Symbol egg timer
17. Display cooking zone timer
18. Bridging function
Touch control for
cooking zone front
Touch control for
cooking zone back

Table of Contents

Related product manuals