EasyManua.ls Logo

GUTMANN Fonda - 3 Description de Lappareil

GUTMANN Fonda
Print Icon
To Next Page IconTo Next Page
To Next Page IconTo Next Page
To Previous Page IconTo Previous Page
To Previous Page IconTo Previous Page
Loading...
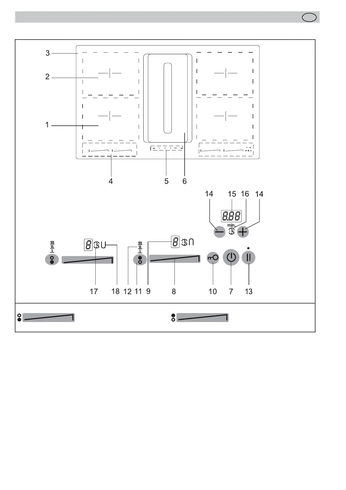
Description de l’appareil
42
F
3 Description de l’appareil
Le décor peut être diff érent de celui illustré.
1. Zone de cuisson à induction avant
2. Zone de cuisson à induction arrière
3. Table de cuisson vitrocéramique
4. Panneau de commande Touch Control
5. Commande de ventilateur
6. Ventilateur
7. Touche Marche/Arrêt (table de cuisson)
8. champ sensitif
9. Affi chage position de cuisson
10. Touche sensitive de verrouillage
11. Touche maintien au chaud
12. Niveaux de température (3 étapes)
13. Touche STOP (fonction Pause)
14. Touche Moins/Plus minuterie
15. Affi chage timer
16. Affi chage Minuterie (sablier)
17. Display timer
18. Fonction de pontage
Champ sensitif pour zone
de cuisson avant
Champ sensitif pour zone
de cuisson arrière

Table of Contents

Related product manuals