EasyManua.ls Logo

GUTMANN Fonda - 3 Gerätebeschreibung

GUTMANN Fonda
Print Icon
To Next Page IconTo Next Page
To Next Page IconTo Next Page
To Previous Page IconTo Previous Page
To Previous Page IconTo Previous Page
Loading...
Gerätebeschreibung
6
D
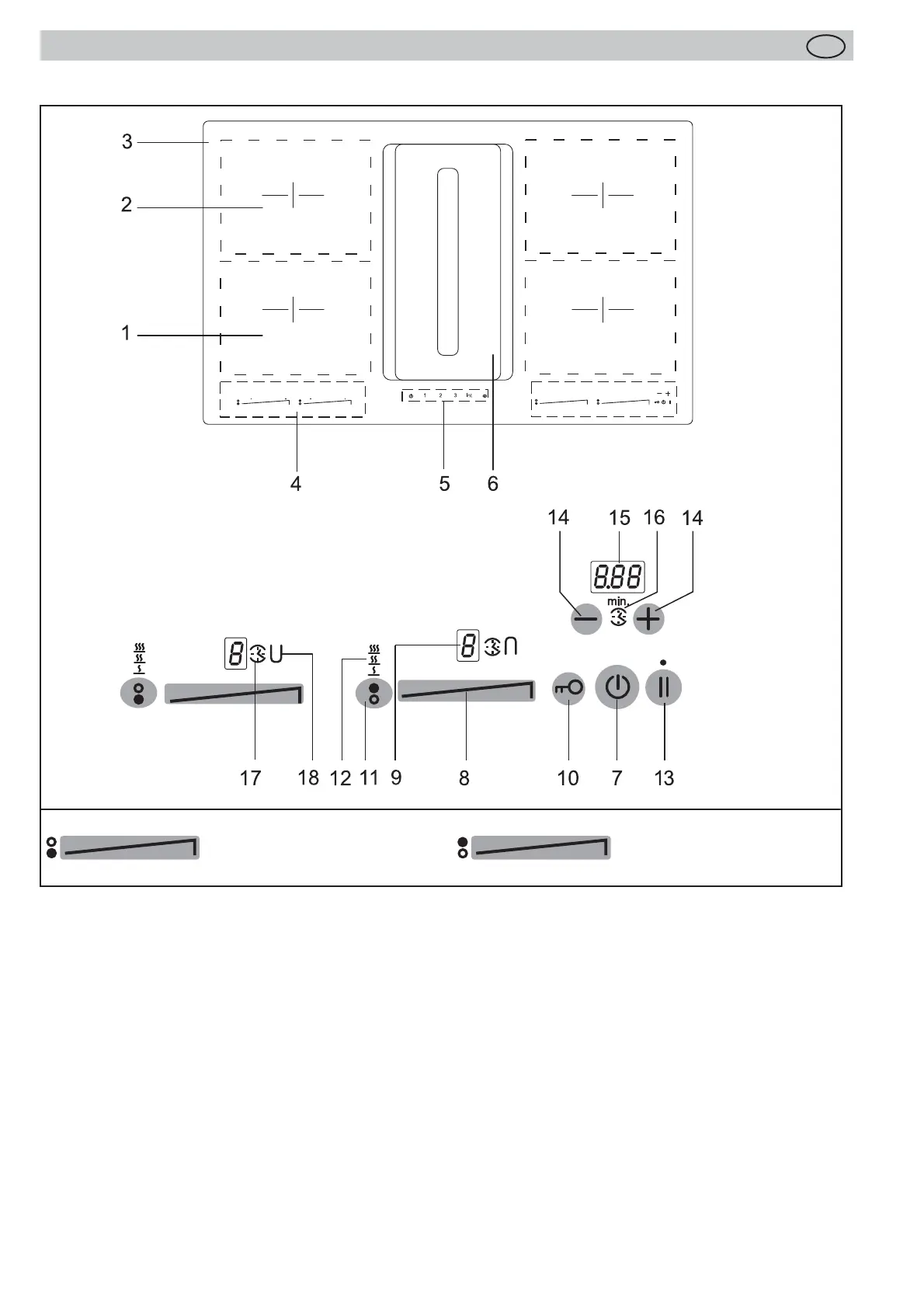
3 Gerätebeschreibung
Das Dekor kann von den Abbildungen abweichen.
1. Induktionskochzone vorne
2. Induktionskochzone hinten
3. Glaskeramik-Kochfeld
4. Touch-Control Bedienfeld
5. Lüftesteuerung
6. Lüfter
7. Ein/Aus-Taste (Kochfeld)
8. Sensorfeld
9. Kochstufen-Anzeige
10. Verriegelungs-Taste
11. Warmhalte-Taste
12. Anzeige der Warmhaltestufe (3 Stufen)
13. STOP-Taste (Pausezeichen)
14. Minus- /Plus-Taste Timer
15. Timer-Anzeige
16. Anzeige für Eieruhr
17. Anzeige für Kochstellentimer
18. Brückenfunktion
Sensorfeld für Kochzone
vorne
Sensorfeld für Kochzone
hinten

Table of Contents

Related product manuals