EasyManua.ls Logo

GUTMANN Fonda - 3 Descripción del Aparato

GUTMANN Fonda
Print Icon
To Next Page IconTo Next Page
To Next Page IconTo Next Page
To Previous Page IconTo Previous Page
To Previous Page IconTo Previous Page
Loading...
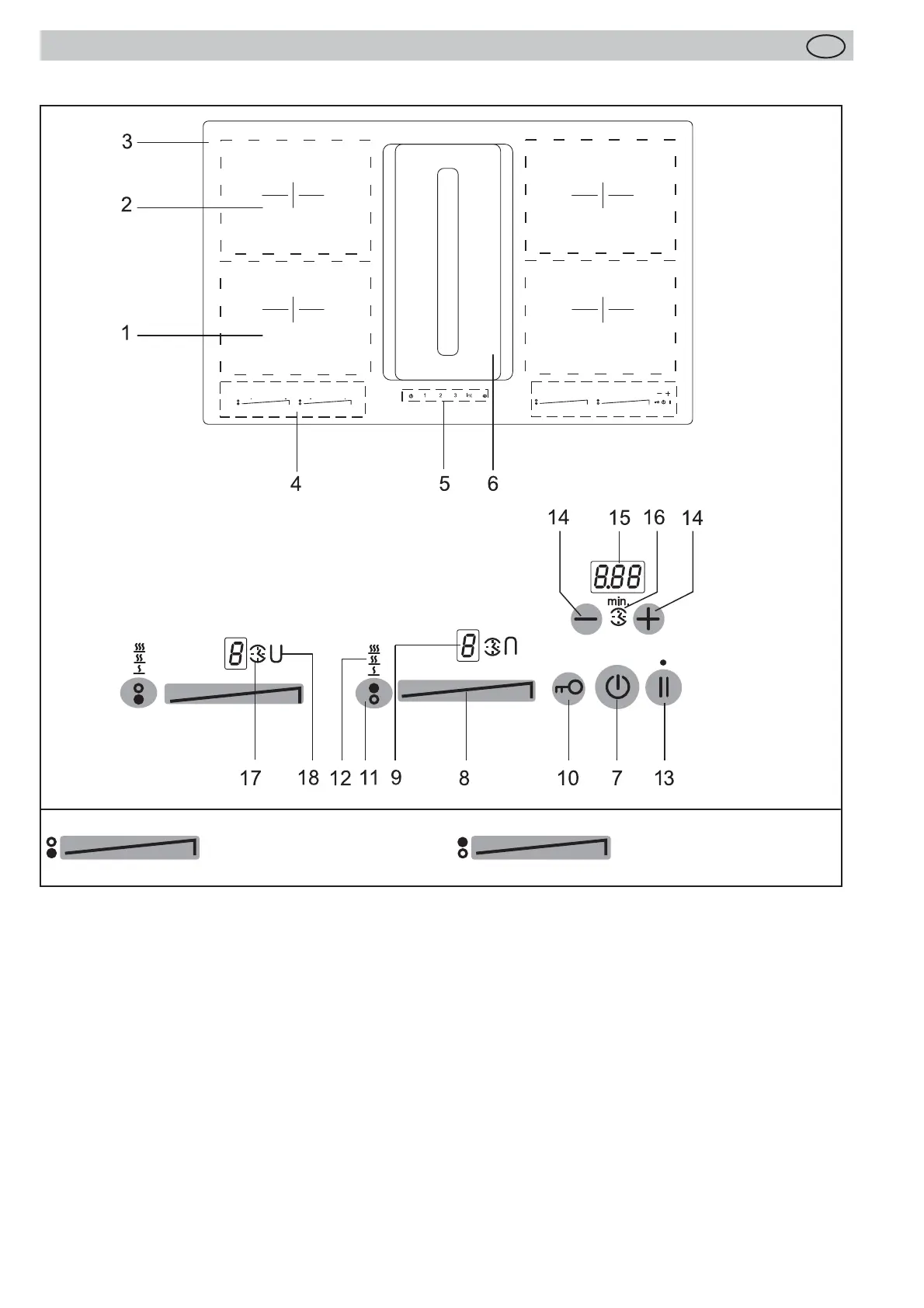
Descripción del aparato
96
E
3 Descripción del aparato
La decoración puede diferir de la representada en las
guras.
1. Zona de cocción por inducción delante
2. Zona de cocción por inducción detrás
3. Encimera de vitrocerámica
4. Panel de mando Touch-Control
5. Control de ventilador
6. Ventilador
7. Tecla de encendido / apagado (encimera)
8. Campo de sensor
9. Indicador de nivel de cocción
10. Tecla de bloqueo
11. Tecla de mantener caliente
12. Indicador del nivel de mantener caliente (3 niveles)
13. Tecla STOP (señal de pausa)
14. Tecla menos / más del temporizador
15. Indicador del temporizador
16. Indicador para el reloj programador
17. Indicador para el temporizador de zona de cocción
18. Función de puente
Campo de sensor para
la zona de cocción
delantera
Campo de sensor para la
zona de cocción trasera

Table of Contents

Related product manuals