EasyManua.ls Logo

Habegger HIT-TRAC 16 E - Utilisation; Préparation

Habegger HIT-TRAC 16 E
Print Icon
To Next Page IconTo Next Page
To Next Page IconTo Next Page
To Previous Page IconTo Previous Page
To Previous Page IconTo Previous Page
Loading...
43
5 Utilisation
5.1 Préparation
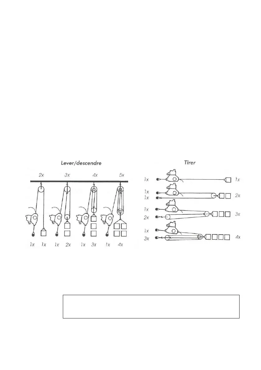
Force de traction
évaluer la force de traction en fonction de la charge prévue, ou la déterminer à I’ aide
d'un dynamomètre.
La force de traction varie en fonction du travail à réaliser. Elle est plus ou moins grande si
la charge est tirée ou levée.
La force de traction ne doit pas être supérieure à la force de traction nominale de I’
appareil de traction, c'est à dire 16 kN (utiliser un mesureur de tension de câble).
En cas de forces supérieures :
réduire la force de traction par mouflage. Utilisez des points d’ancrage et moyens de
fixation approprié ä la force.
Choisir et préparer une possibilité de fixation de la charge.
Choisir un emplacement avec possibilité d'ancrage de I’ appareil et accrocher I’ appareil de
traction par des moyens de fixation appropriés, de manière à ce qu'il puisse s'ajuster dans
le sens de traction.
L'appareil doit pouvoir s'ajuster librement dans la direction de
traction du câble. Risque de rupture du carter !
Dérouler le câble.

Table of Contents