EasyManua.ls Logo

HANGCHA CPQD18N-RW21 - Scutcheons

HANGCHA CPQD18N-RW21
108 pages
Print Icon
To Next Page IconTo Next Page
To Next Page IconTo Next Page
To Previous Page IconTo Previous Page
To Previous Page IconTo Previous Page
Loading...
50
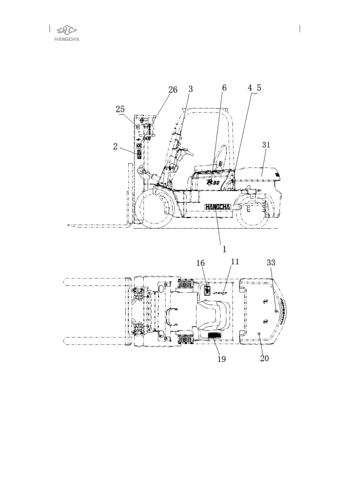
Scutcheons
There are many scutcheons and labels on the different position of the truck.

Table of Contents

Related product manuals