EasyManua.ls Logo

Higen FDA7004B - Page 102

Default Icon
147 pages
Print Icon
To Next Page IconTo Next Page
To Next Page IconTo Next Page
To Previous Page IconTo Previous Page
To Previous Page IconTo Previous Page
Loading...
5. Servo operating
5-7
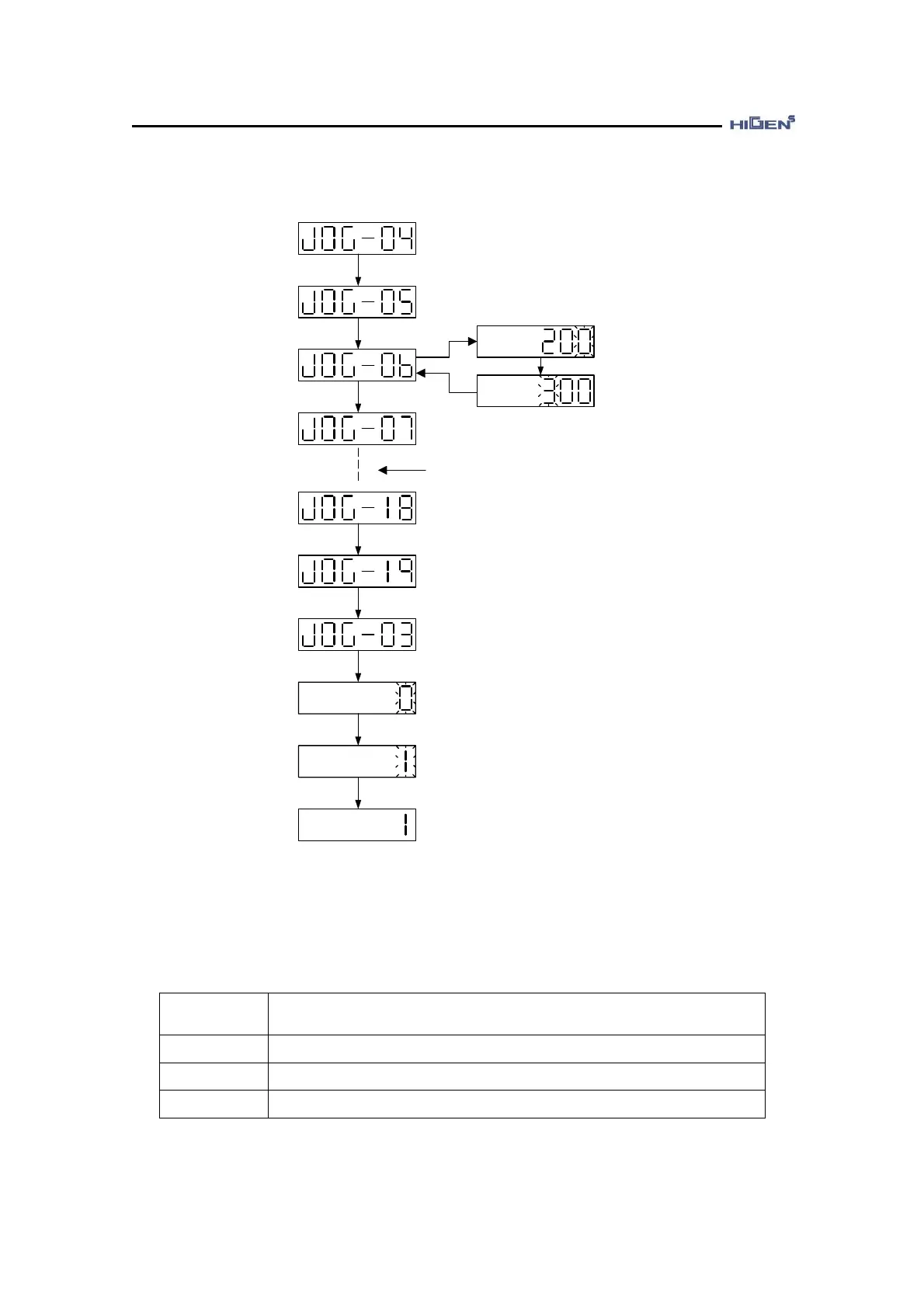
2) Auto jog mode setting
ENTER, ENTER
Auto JOG
mode setting
UP
ENTER
Revolution speed-time
Execute auto JOG mode
JOG speed 1
setting
JOG time 1
setting
JOG speed 2
setting
JOG time 2
setting
JOG speed 8
setting
JOG time 8
setting
JOG 3 ~ 7
setting
ENTER, ENTER
LEFT, LEFT, UP
RIGHT
Auto jog mode supports 8-steps repeated pattern operations, and the 1
st
auto jog mode that
sets the revolution speed [rpm] and revolution time [sec] and 2
nd
auto jog mode that sets the
revolution time [rpm] and revolutions [rev] are supported.
JOG-03
Set value
Operation explanation
0 Do not use auto jog mode
1 Use auto jog mode for revolution speed – revolution time
2 Use auto jog mode for revolution speed – revolutions

Other manuals for Higen FDA7004B

Related product manuals