EasyManua.ls Logo

HighLine RCH Mower - Wing Height Adjustment for Mowing Slopes

Default Icon
82 pages
Print Icon
To Next Page IconTo Next Page
To Next Page IconTo Next Page
To Previous Page IconTo Previous Page
To Previous Page IconTo Previous Page
Loading...
Section 3 - Mower Preparation
Page 3-7
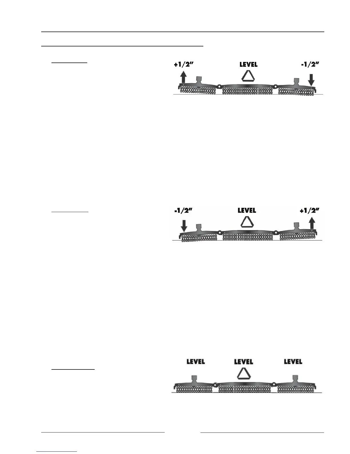
Setup Factor #2 - Determine Wing Height Adjustment
! Right Hand Slope Operation (With
Traffic)
- Confirm the Wing Height according
to the diagram.
- As needed, use the Wing
Adjustment Procedure (listed
below):
- Raise the outer edge of the left
wing (road side) ½" (1.2 cm) up
from the leveled center section.
- Lower the outer edge of the
right wing (ditch side) ½"
(1.2cm) down from the leveled
center section.
- This will enable the wings to
contour to the ditch for a better
cut.
! Left Hand Slope Operation
(Against Traffic)
- Confirm the Wing Height according
to the diagram.
- As needed, use the Wing
Adjustment Procedure (listed
below):
- Lower the outer edge of the left
wing (ditch side) ½" (1.2cm)
down from the leveled center
section.
- Raise the outer edge of the
right wing (road side) ½" (1.2
cm) up from the leveled center
section.
- This will enable the wings to
contour to the ditch for a better
cut.
! Level Ground Operation
- Confirm the Wing Height according
to the diagram.
- As needed, use the Wing
Adjustment Procedure to level
the left wing and right wing with
the leveled center section.
|»Roadway
Right Hand Slope Wing Adjustment- From Behind
107016
Roadwayº|
Left Hand Slope Wing Adjustment - From Behind
107017
Level Ground Wing Adjustment - From Behind
107101