EasyManua.ls Logo

Hioki 3286-20 - Harmonic Measurement; Change the Range

Hioki 3286-20
78 pages
Print Icon
To Next Page IconTo Next Page
To Next Page IconTo Next Page
To Previous Page IconTo Previous Page
To Previous Page IconTo Previous Page
Loading...
11
―――――――――――――――――――――――――――
Chapter 1 Product Outline
―――――――――――――――――――――――
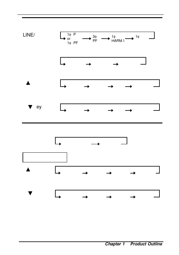
LINE/HARM key
MODE key
I/
key
U/
key
1φ P
or
1φ PF
3φ
PF
1φ
HARM I
1φ
HARM U
THD-R THD-F Content
1st order 2nd-order ---- 20th order
20th order 19th-order ---- 1storder
Measurement
value indication
RANGE key
RANGE indication
I/ key
U/
key
RANGE
indication
AUTOrange
150 V
range
300 V
range
600 V
range
AUTOrange
20 A
range
200 A
range
1000 A
range
1.4.2 Harmonic Measurement
1.4.3 Chan
g
e the Ran
g
e