EasyManua.ls Logo

Hisense HS212F - Identifying the Parts; Main Unit Components; Wireless Subwoofer Components

Hisense HS212F
16 pages
Print Icon
To Next Page IconTo Next Page
To Next Page IconTo Next Page
To Previous Page IconTo Previous Page
To Previous Page IconTo Previous Page
Loading...
7
1 2 3
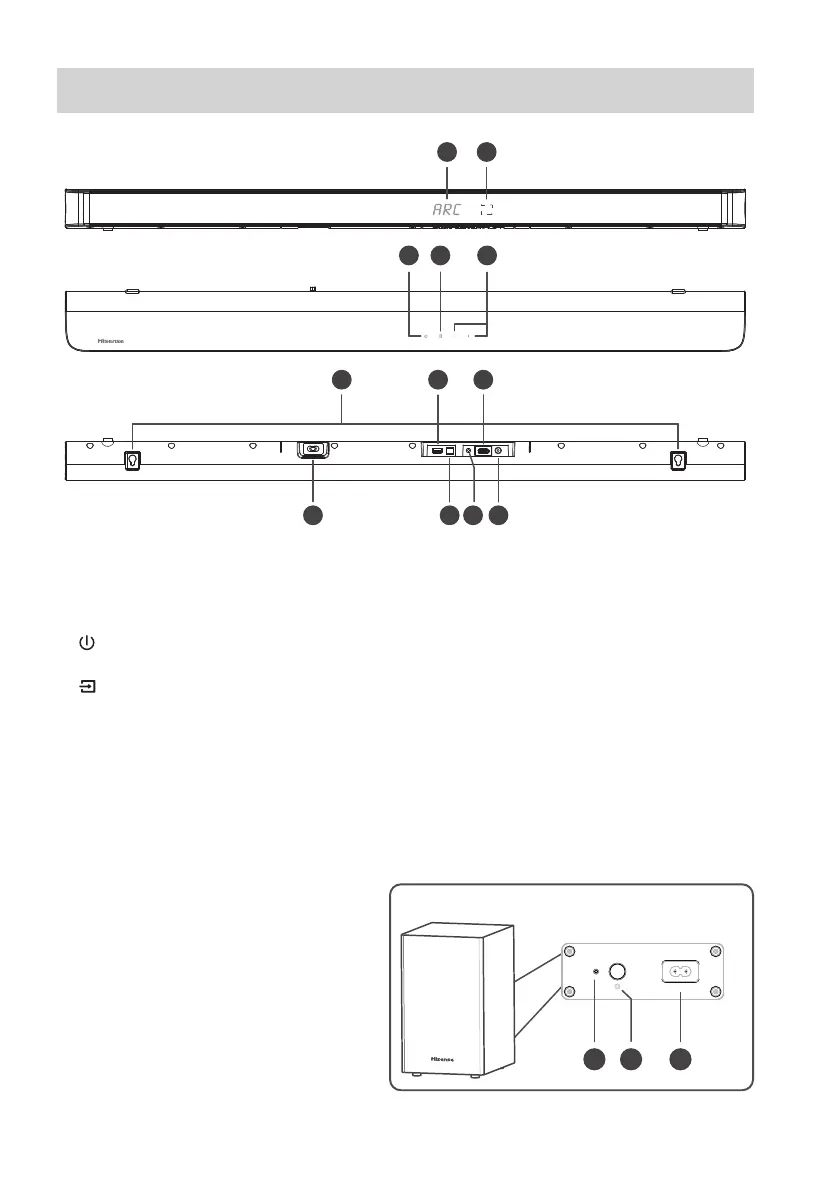
Identifying the Parts
Main Unit
2 Remote Control Sensor
Receive signal from the remote control.
1 Display Window
Show the current status.
6 Wall Mount
Install the wall mounting screws into the
wall mount of the unit.
3
(ON/OFF) Button
Switch the unit between ON and STANDBY mode.
5 +/- (Vol+/Vol-) Buttons
Increase/decrease the volume level.
4
(SOURCE) Button
Select the play mode.
7 AC IN Socket
Connect to the power supply.
8 USB Socket
Insert the USB device to play music.
10 AUX Socket
Connect to an external audio device.
11 HDMI ARC Socket
Connect to a TV via HDMI cable.
12 COAXIAL Socket
Connect to a coaxial audio output on the TV.
9 OPTICAL Socket
Connect to an optical audio output on the TV.
Wireless Subwoofer
3 AC IN Socket
Connect to power supply.
2 Reset Button
Reset the unit and broadcast the bluetooth
version.
1 PAIR Indicator
Light up solidly when the pairing succeed.
12
11
10
6
3
1 2
54
8
97
AC IN

Other manuals for Hisense HS212F

Related product manuals