EasyManua.ls Logo

Hisun HS250UTV - Adjusting the Toe-In

Hisun HS250UTV
312 pages
Print Icon
To Next Page IconTo Next Page
To Next Page IconTo Next Page
To Previous Page IconTo Previous Page
To Previous Page IconTo Previous Page
Loading...
-107-
MAINTENCE AND ADJUSTMENT OF THE UTV
- 107 -
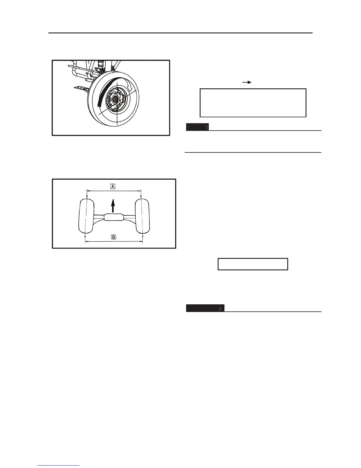
ADJUSTING THE TOE-IN
1. Place the vehicle on a level surface.
2. Measure:
• toe-in
Out of specification
Adjust.
Toe-in
8~ 18 mm (0.00 ~ 0.39 in)
(with tires touching the ground)
NOTE:
Before measuring the toe-in, make sure that the
tire pressure is correct.
a. Mark both front tire tread centers.
b.Lift the front end of UTV to keep the front wheel
from force .
c. Faster the steering forward . Meagcre the widthe
beetween two marks.
d. Rotate the front tires 180° until the marks are
exactly opposite one another.
e. Measure distance
B
between the marks.
f. Calculate the toe-in using the formula given
below.
Toe-in=
B
-
A
g. If the toe-in is incorrect, adjust it
3. Adjust toe-in
WARNING
:
Make sure that left / right tension rods have
turned the same turns . Otherwise the UTV will
still go UTV left and right even though . Operate
the UTV to go forward straightly with steering
bar , easily causing to getting out of contor and
accident . After adjusting the toe-in correctly
drive the UTV to move forward a span of
distance by fastering the steering bar so as to
.

Table of Contents

Related product manuals