EasyManua.ls Logo

Hisun HS250UTV - Fuel Tank

Hisun HS250UTV
312 pages
Print Icon
To Next Page IconTo Next Page
To Next Page IconTo Next Page
To Previous Page IconTo Previous Page
To Previous Page IconTo Previous Page
Loading...
-232-
CHASSIS
- 232-
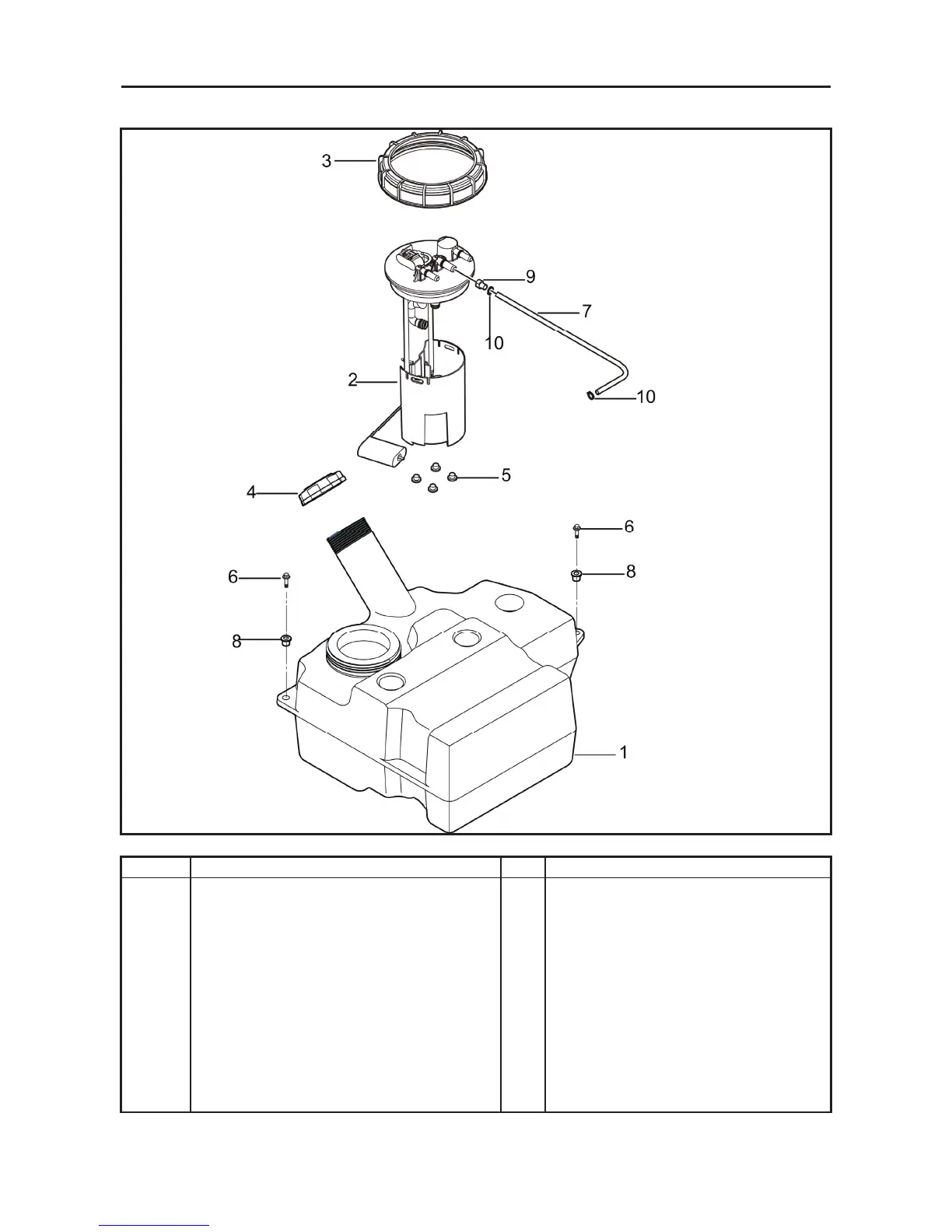
FUEL TANK
No. Part Name Qty Remarks
Removing the fuel tank
1 Fuel tank 1
2 Fuel pump 1
3 Cover, fuel pump(EFI engine) 1
4 Fuel Tank cap 1
5 Rubber cusion VIII 4
6 Hexagon flange self-locked bolt M6×20 2
7 Fuel pipe L=250 Φ14×Φ17×250 1
8 Collar bushing ΦΦ9.5×Φ20×7 3
9 Plug for fuel outlet(EFI Engine) 1
10 Clamp 2
CHASSIS
- 233-
Fuel tank cap
Remove the fuel tank cap by turning it
counterclockwise.

Table of Contents

Related product manuals