EasyManua.ls Logo

Hitachi 32LD8D20E - SAW Filter X6966 M

Hitachi 32LD8D20E
77 pages
Print Icon
To Next Page IconTo Next Page
To Next Page IconTo Next Page
To Previous Page IconTo Previous Page
To Previous Page IconTo Previous Page
Loading...
x High slew rate
x Low distortion
x Large output voltage swing.
x Power supply maximum 60 mW to 32 (THD<0.1%)
x 5V single supply
x SNR 110 dB
x Power supply ripple rejection
x Typically 3 mA supply current at no load
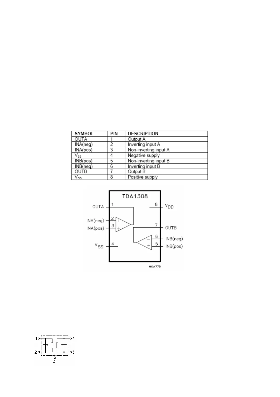
8.3. Pinning
9. SAW FILTER X6966M
9.1 Features:
- IF filter for digital cable TV
- Plastic package SIP5K

Related product manuals