EasyManua.ls Logo

Hitachi 32LD8D20E - Page 23

Hitachi 32LD8D20E
77 pages
Print Icon
To Next Page IconTo Next Page
To Next Page IconTo Next Page
To Previous Page IconTo Previous Page
To Previous Page IconTo Previous Page
Loading...
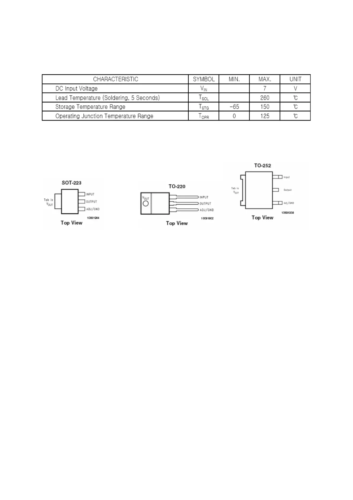
10.1.4. Absolute Maximum Ratings
10.1.5. Pinning
10.2. LM1086
10.2.1. General Description
The LM1086 is a low dropout three terminal regulator with 1.5A output current capability.
The output voltage is adjustable with the use of a resistor divider. Dropout is guaranteed
at a maximum of 500 mV at maximum output current. It's low dropout voltage and fast
transient response make it ideal for low voltage microprocessor applications. Internal
current and thermal limiting provides protection against any overload condition
that would create excessive junction temperature.
10.2.2. Features
x Low Dropout Voltage 500mV at 1.5A Output Current
x Fast Transient Response
x 0.015% Line Regulation
x 0.1% Load Regulation
x Current Limiting and Thermal Protecion.
x Adjustable or Fixed Output Voltage(1.8, 2.5, 2.85, 3.0, 3.3, 3.45, 5.0V)
x Surface Mount Package SOT-223 & TO-263 (D2 Package)
x 100% Thermal Limit Burn-in
10.2.3. Applications
x Battery Charger
x
Adjustable Power Supplies
x
Constant Current Regulators
x
Portable Instrumentation
x
High Efficiency Linear Power Supplies

Related product manuals