EasyManua.ls Logo

Hitachi 32PD7800 - Wiring Diagram

Hitachi 32PD7800
106 pages
Print Icon
To Next Page IconTo Next Page
To Next Page IconTo Next Page
To Previous Page IconTo Previous Page
To Previous Page IconTo Previous Page
Loading...
63
32PD7800/42PD7800
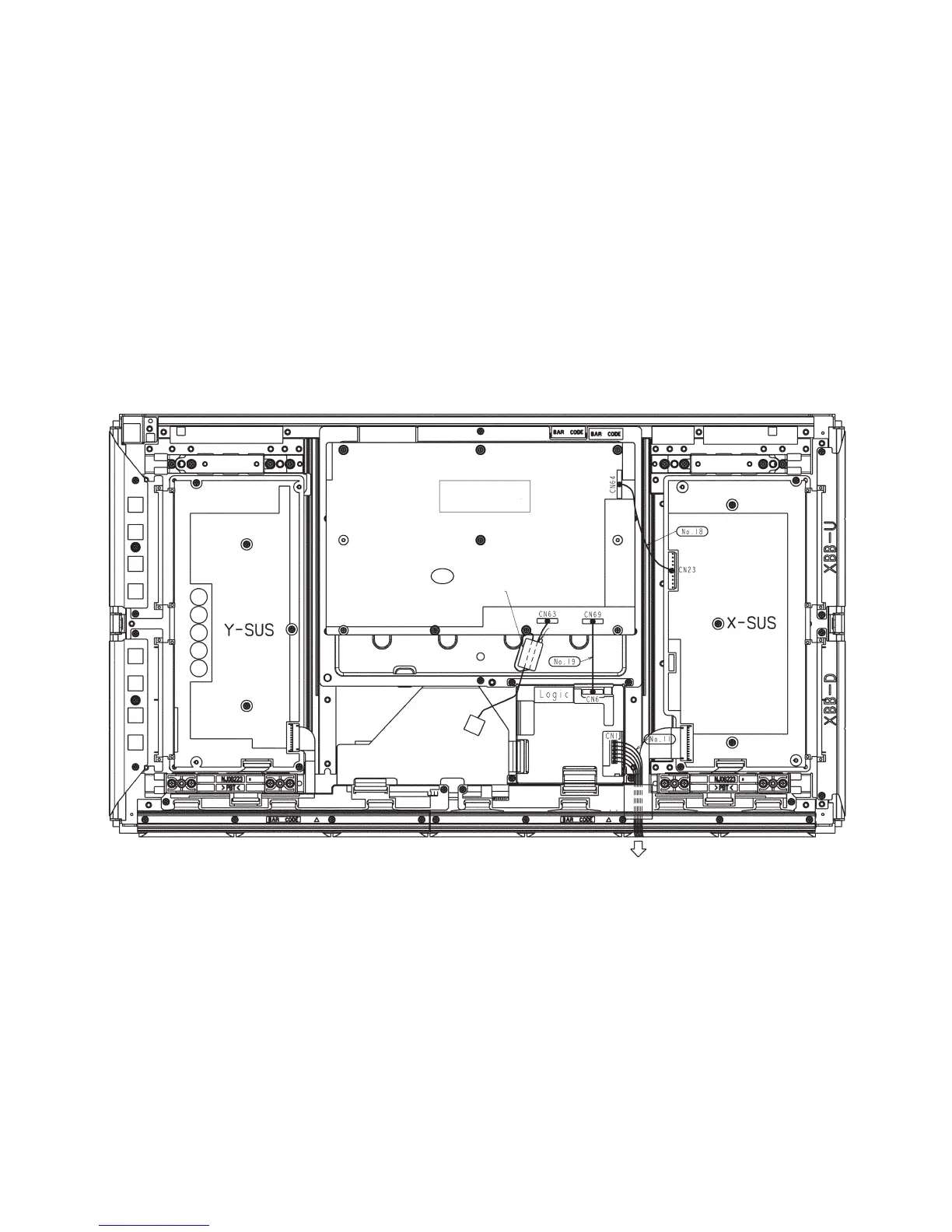
13. Wiring diagram
wiring diagram for 32PD7800 1/2
POWER UNIT
SK Binder
FERRITE CORE with lead
No.6
To joint PWB
to the next page