EasyManua.ls Logo

Hitachi DZ-B35A - Information Display During Playback

Hitachi DZ-B35A
167 pages
Print Icon
To Next Page IconTo Next Page
To Next Page IconTo Next Page
To Previous Page IconTo Previous Page
To Previous Page IconTo Previous Page
Loading...
English
74
1<>2/3
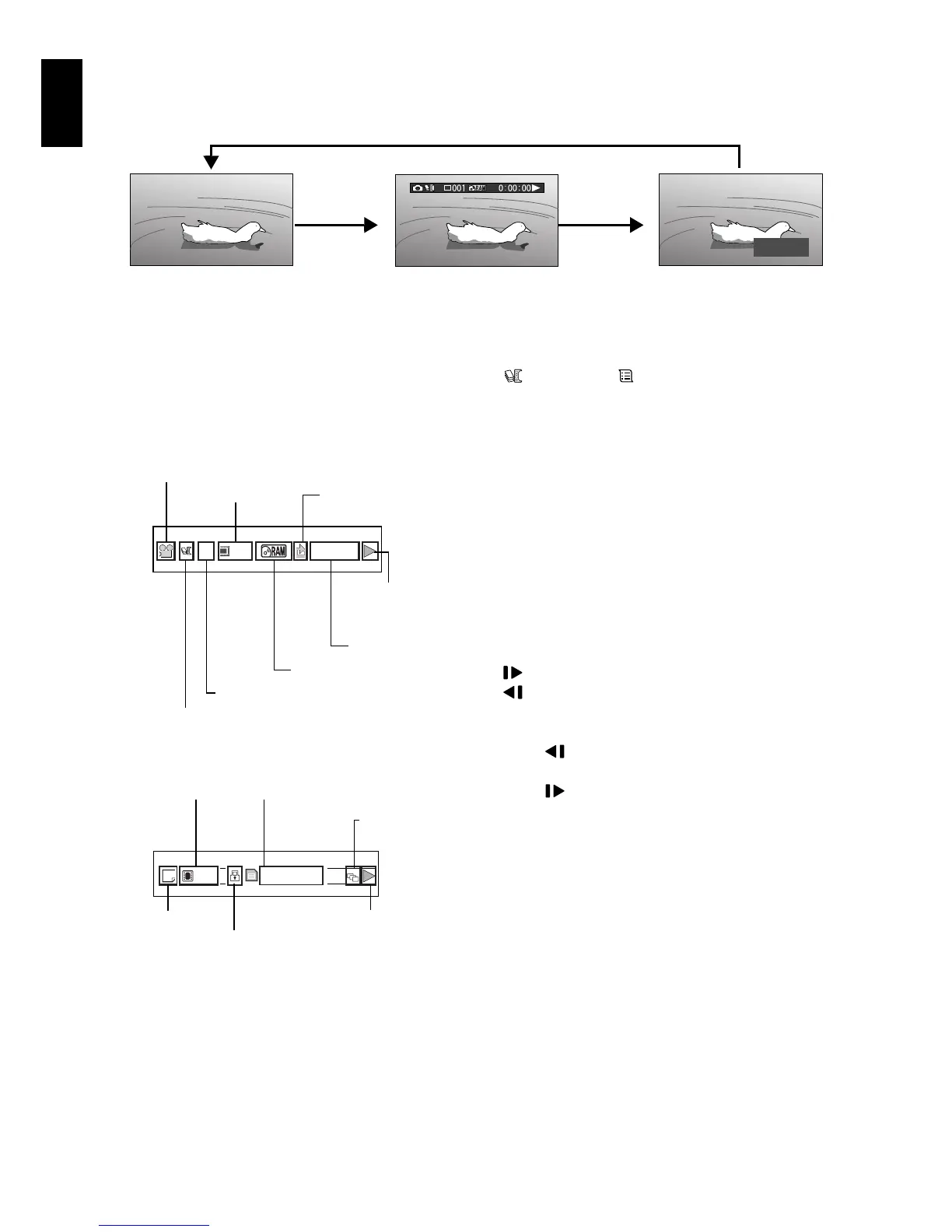
INFORMATION DISPLAY DURING PLAYBACK
Various types of information on recording will be superimposed on playback image you are viewing.
Switching the information display
mode
Press the DISPLAY button: You can switch the
display mode of on-screen information.
When using disc:
When using card:
Recording date/time display: Shows the date/
time when recording was started. Even when
playback starts, the date/time display will not
advance.
No display: No information will appear.
However, when the mode of playback
operation is switched, the symbol will appear
for approx. 3 seconds.
Note:
See page 89 and after for “Program”, page 92 and after
for “Play List”.
9/30/2006
9:27
A
M
No display Playback information
display
Recording date/time
00606
0:00:16
Recording mode
*1
Scene No. Repeat play
*5
Program No. or Play List
No.
*3
Program or Play List
*2
Counter
Disc type
*4
Playback
operation
*6
003
100—0003
Recording mode
*1
Scene No. File name
Lock
*5
Playback operation
*6
Slide Show
*5
*1
O (VIDEO) or N (PHOTO) with disc;
Only E (PHOTO) with card.
*2
Program or Play List.
*3
Number of program or play list being played
back (not displayed when all programs are
being played back).
*4
Refer to “Disc/Card type” on page 46.
*5
Y : Will appear when each function is
specified “On”.
*6
F :Standard playback
b : Playback pause
c : Forward search playback
d : Reverse search playback
e :Forward skip playback
f : Reverse skip playback
g : Forward frame advance
h : Reverse frame back
:Forward slow playback
: Reverse slow playback
Refer to “Playing Back” beginning on page 69
for how to operate.
The “ ” mark will appear on the first image
on disc.
The “ ” mark will appear on the last image
on disc.

Table of Contents