EasyManua.ls Logo

Hitachi VSP G1500

Hitachi VSP G1500
530 pages
To Next Page IconTo Next Page
To Next Page IconTo Next Page
To Previous Page IconTo Previous Page
To Previous Page IconTo Previous Page
Loading...
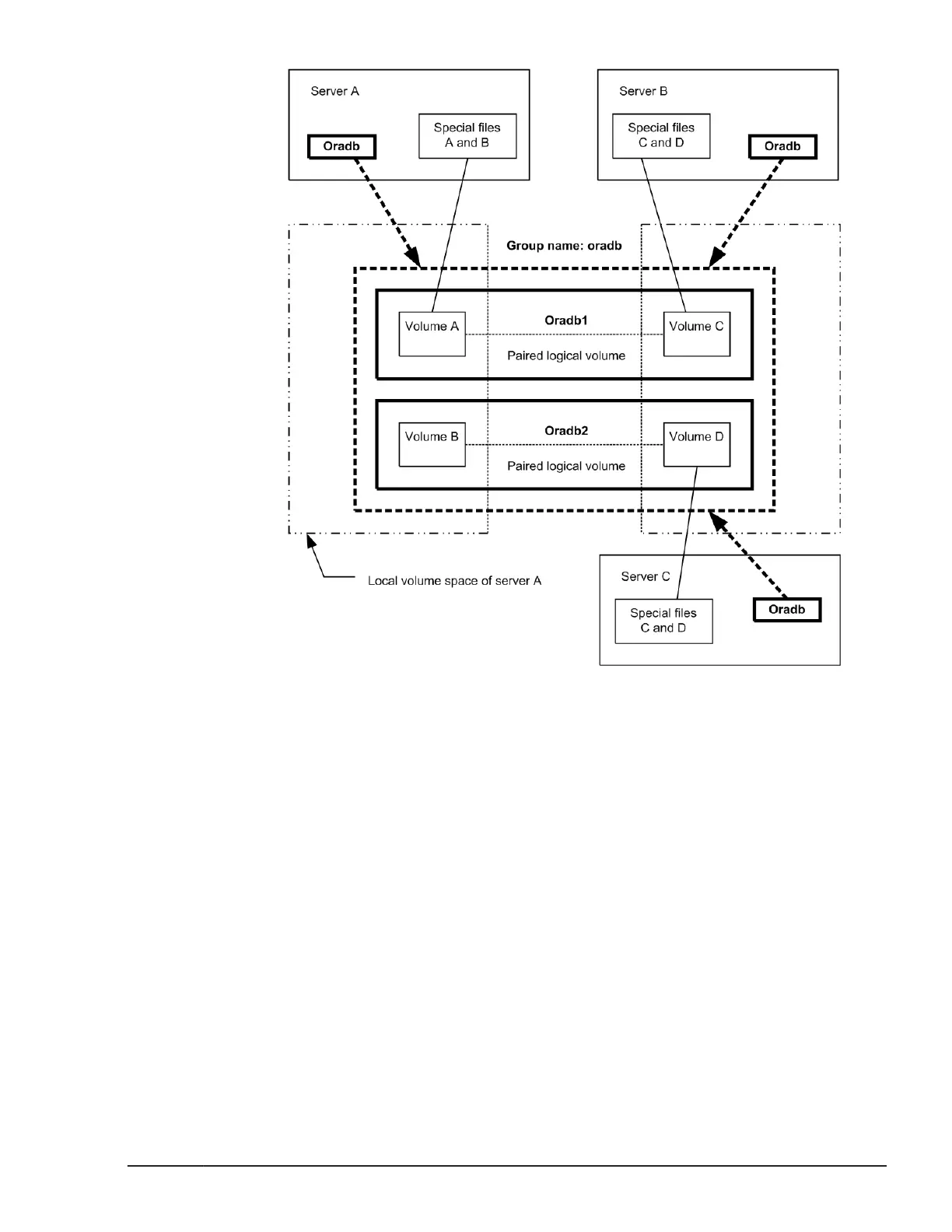
Figure 6-1 Concept of paired volumes
Addressing paired logical volumes: The correspondence of paired logical
volumes to their physical volumes is defined by describing the paired logical
volume names and group names in the configuration definition files of each
server. It is possible to define a server for the paired logical volumes in units
of group name. Each paired logical volume must belong to a group in order to
determine the corresponding server.
Specification of volumes by commands: Volume names to be used by the CCI
commands must be referenced via the paired logical volume names or the
group names.
Using CCI with ShadowImage and TrueCopy
CCI allows you to perform ShadowImage and TrueCopy operations by issuing
ShadowImage and TrueCopy commands from the UNIX/PC server host to the
RAID storage system. ShadowImage and TrueCopy operations are
nondisruptive and allow the primary volume of each volume pair to remain
online to all hosts for both read and write operations. Once established,
Data replication operations with CCI
6-3
Command Control Interface User and Reference Guide

Table of Contents

Other manuals for Hitachi VSP G1500

Related product manuals