EasyManua.ls Logo

Hitachi VSP G1500

Hitachi VSP G1500
530 pages
To Next Page IconTo Next Page
To Next Page IconTo Next Page
To Previous Page IconTo Previous Page
To Previous Page IconTo Previous Page
Loading...
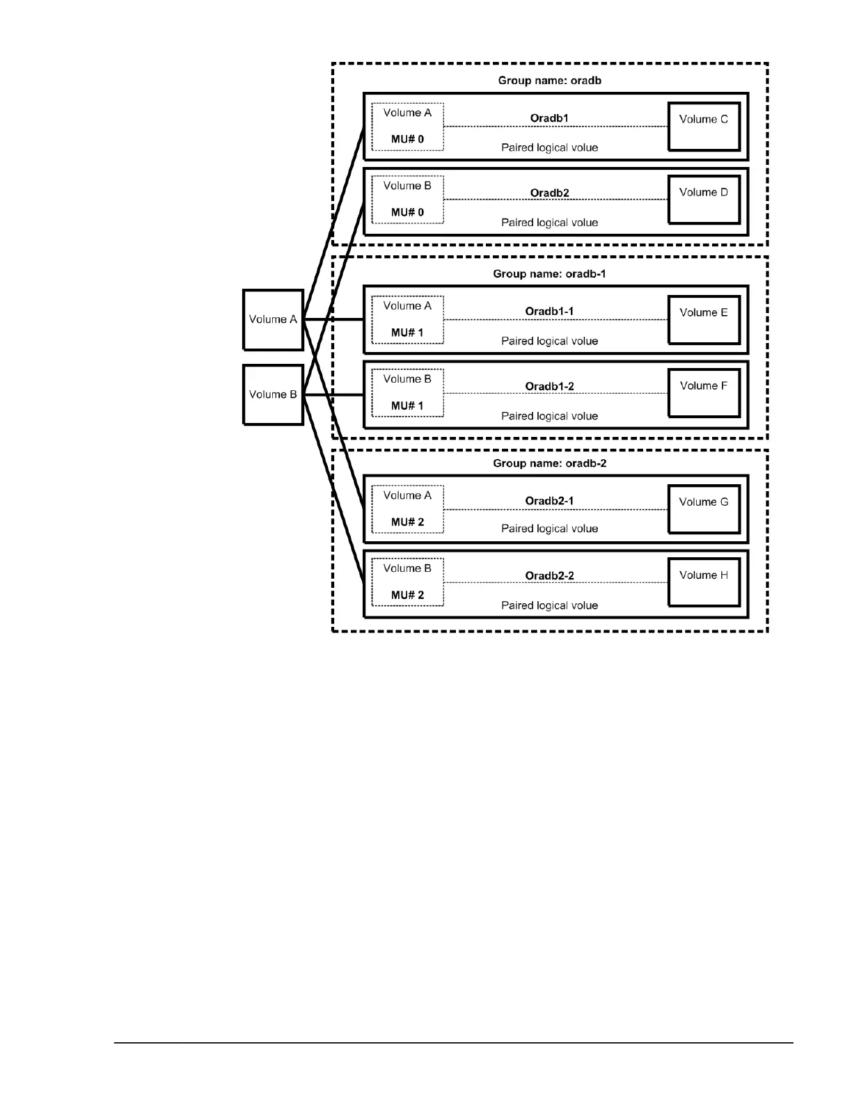
Figure 6-3 ShadowImage duplicated mirrors
ShadowImage cascading pairs
ShadowImage provides a cascading function for the ShadowImage S-VOL.
Cascading mirror volumes can be specified up to the maximum quantity 2.
The cascading mirrors of the S-VOL are expressed as virtual volumes using
the mirror descriptors (MU#1-2) in the configuration diagram as shown
below. The MU#0 of a mirror descriptor is used for connection of the S-VOL.
Data replication operations with CCI
6-7
Command Control Interface User and Reference Guide

Table of Contents

Other manuals for Hitachi VSP G1500

Related product manuals