EasyManua.ls Logo

Hitachi VSP G1500

Hitachi VSP G1500
530 pages
To Next Page IconTo Next Page
To Next Page IconTo Next Page
To Previous Page IconTo Previous Page
To Previous Page IconTo Previous Page
Loading...
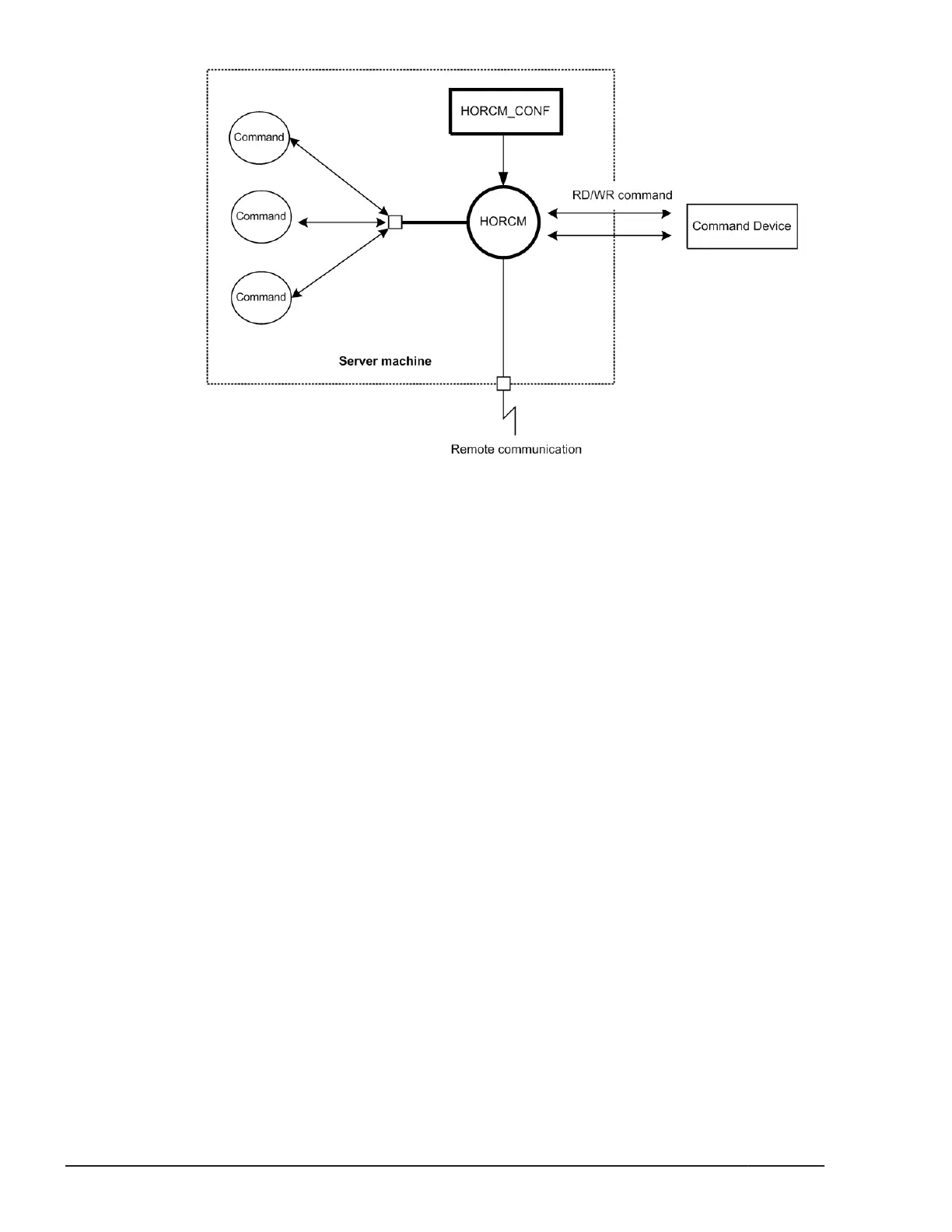
Figure 2-8 HORCM operational environment
CCI instance configurations
The basic unit of the CCI software structure is the CCI instance. A CCI
instance consists of HORC manager (HORCM), CCI commands, the user-
defined configuration definition file, and the log function for maintenance.
Each instance uses its own configuration definition file to manage volume
relationships while maintaining awareness of the other CCI instances. Each
CCI instance normally resides on separate servers (one node per instance). If
two or more instances are run on a single server (for example, for test
operations), it is possible to activate two or more instances using instance
numbers. The CCI commands to be used are selected by the environment
variable (HORCC_MRCF). The default command execution environment for
CCI is TrueCopy.
The CCI instance shown in the following figure has a remote execution link
and a connection to the RAID storage system. The remote execution link is a
network connection to another PC to allow you to execute CCI functions
remotely. The connection between the CCI instance and the storage system
illustrates the connection between the CCI software on the host and the
command device. The command device accepts CCI commands and
communicates read and write I/Os between the host and the volumes on the
storage system. The host does not communicate CCI commands directly to
the volumes on the storage system -- the CCI commands always go through
the command device.
2-10
CCI software environment
Command Control Interface User and Reference Guide

Table of Contents

Other manuals for Hitachi VSP G1500

Related product manuals