EasyManua.ls Logo

Hitachi VSP G1500

Hitachi VSP G1500
530 pages
To Next Page IconTo Next Page
To Next Page IconTo Next Page
To Previous Page IconTo Previous Page
To Previous Page IconTo Previous Page
Loading...
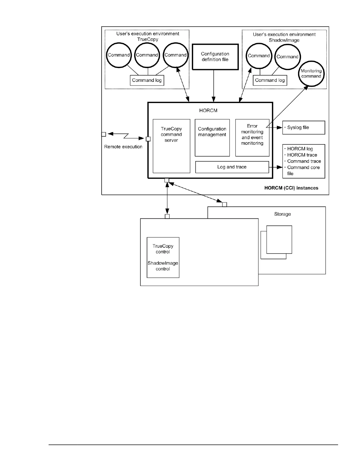
Figure 2-9 CCI instance configuration & components
The four possible CCI instance configurations are:
One host connected to one storage system. Connecting one host to one
storage system allows you to maintain multiple copies of your data for
testing purposes or as an offline backup. Each CCI instance has its own
operation manager, server software, and scripts and commands, and
each CCI instance communicates independently with the command
device. The RAID storage system contains the command device that
communicates with the CCI instances as well as the primary and
secondary volumes of both CCI instances.
One host connected to two storage systems. Connecting the host to two
storage systems enables you to migrate data or implement disaster
recovery by maintaining duplicate sets of data in two different storage
systems. You can implement disaster recovery solutions by placing the
CCI software environment
2-11
Command Control Interface User and Reference Guide

Table of Contents

Other manuals for Hitachi VSP G1500

Related product manuals