EasyManua.ls Logo

Hitachi VSP G1500

Hitachi VSP G1500
530 pages
To Next Page IconTo Next Page
To Next Page IconTo Next Page
To Previous Page IconTo Previous Page
To Previous Page IconTo Previous Page
Loading...
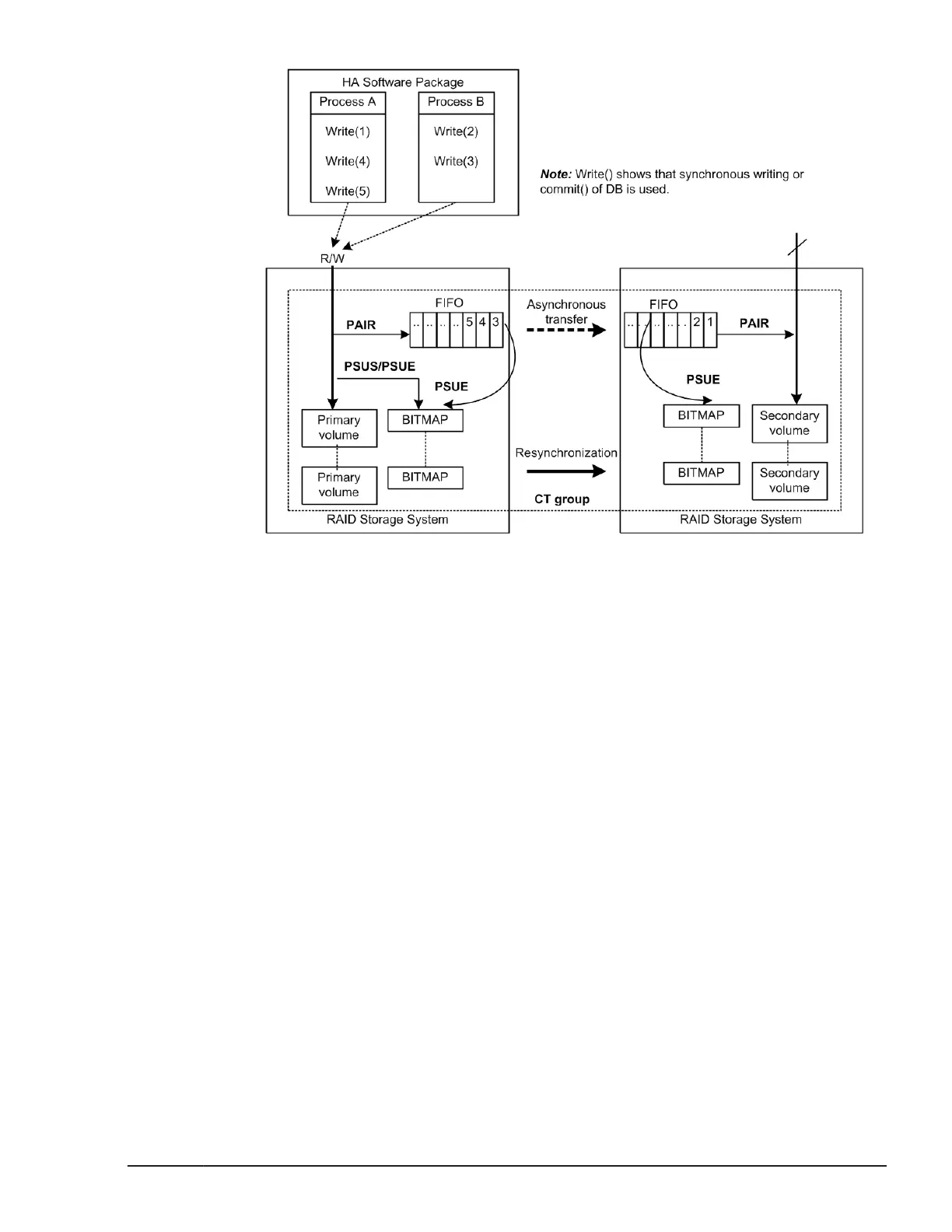
Figure 6-9 TrueCopy Async consistency groups
Restrictions
Group definition of TrueCopy Async/Universal Replicator/TrueCopy/global-
active device volume: All volumes in a group must be contained within
the same storage system. If two or more groups of CCI include the same
consistency group (CTG ID), then pair operation of the group specification
is handled in consistency group entirety.
Registration of CTG ID number and limitations: CCI registers CTG ID to
RAID disk array automatically when paired volumes are created by
paircreate command, and groups of configuration definition files are
mapped to CTG ID. The maximum number of consistency groups is as
follows:
¢
HUS VM, VSP, USP V/VM, and Universal Storage Platform/TagmaStore
NSC: 256 (CTG ID 0 - CTG ID 255)
¢
VSP G800, VSP F800, and 9900V: 128 (CTG ID 0 - CTG ID 127)
¢
VSP G400, G600 and VSP F400, F600: 64 (CTG ID 0 - CTG ID 63)
¢
VSP G200: 16 (CTG ID 0 - CTG ID 15)
TrueCopy Async/Universal Replicator/global-active device pair command
is terminated with EX_ENOCTG when the maximum number of
consistency groups is exceeded.
Relationships between CTG ID and Journal ID: The consistency
group numbers from 0 to 127 are assigned to TrueCopy Async and
Data replication operations with CCI
6-25
Command Control Interface User and Reference Guide

Table of Contents

Other manuals for Hitachi VSP G1500

Related product manuals