EasyManua.ls Logo

HITEC X2 700 - Configuring Default User Preferences

HITEC X2 700
Print Icon
To Next Page IconTo Next Page
To Next Page IconTo Next Page
To Previous Page IconTo Previous Page
To Previous Page IconTo Previous Page
Loading...
39
DEC INC
ENTER
DEC INC
PROGRAM SELECT
SYSTEM SET ->
LiFe
V.Type
LiPo/LiIo/LiFe
CHK Time 10min
3.3V
+
INC
DEC
Professional Balance Charger, Discharger
Hochleistungs Profi Balance
LADER / ENTLADER
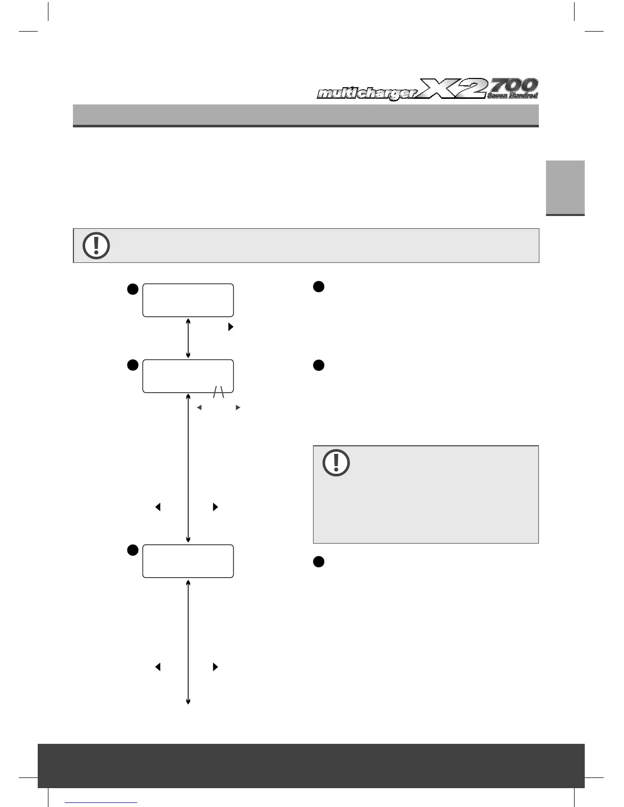
6. Default User Preferences Setup
When powered on for the fi rst time the X2-700 will load
a set of default parameters most commonly used by most
users. The screen displays the information in the following
sequence. The user can customize the parameters on each
screen to suit their own preferences.
To change the parameter values in the program, press the
„START/ENTER“ key to choose the parameter you want to
change. Once the parameter is blinking you can change the
value with the „INC“ (up/forward) or „DEC“ (down/back)
keys. The value will be stored by pressing the „START/ENTER“
key once and the blinking stops.
Warning! Do not connect a battery to the charger before setting up the default user preferences.
1
2
3
1
Main User Setup Screen
The fi rst screen displayed is the Lithium battery set-up screen,
you can press „ENTER“ to bypass this screen and go to the
next user setup screen, or you can set the default Lithium
battery type before moving on.
2
The Lithium Battery Select Screen
Here you can choose one of the four kinds of Lithium
batteries supported by the X4 AC Plus, LiFe (3.3 V), LiIon
(3.6 V), LiPo (3.7 V) or LiHV (3.8 V). If you plan to use one
type of Lithium chemistry battery you can set the default
here.
3
LiPo/LiIon/LiFe/LiHV Check Time
To avoid an erroneous setting by the user the X4 AC Plus
will automatically detect the cell count of a Lithium battery
at the beginning of the charge or discharge process. To
prevent an overdischarged battery from being detected
incorrectly, resulting in an error, you can set a time limit for
the processor to verify the cell count. The default setting
is 10 minutes which is typically enough time to properly
detect the cell count. It is not recommended that you change
this setting as setting to long of a ”Check Time“ can produce
dangerous results. Once you have established the desired
settings press „START/ENTER“ to confi rm the setting then
press „INC“ to move on to the next parameter.
Warning! Make sure when you connect your
battery that you have selected the proper type
of battery before you begin charging your
battery. Once you have established the desired
settings press „START/ENTER“ to confi rm the
setting then press „INC“ to move on to the
next parameter.

Table of Contents

Related product manuals