EasyManua.ls Logo

HITEC X2 700 - Load Data Program

HITEC X2 700
Print Icon
To Next Page IconTo Next Page
To Next Page IconTo Next Page
To Previous Page IconTo Previous Page
To Previous Page IconTo Previous Page
Loading...
49
LOAD [01] NiMH
14.4V 3000mAh
Start/Enter
Start/Enter > 3 seconds
[ BATT MEMORY 1 ]
NiM H 14.4V
ENTER CHARGER
LOAD
NiMH CYCLE
DCHG>CHG 3
Start/Enter > 3 seconds
INCDEC INCDEC
SAVE PROGRAM
SAVE
Professional Balance Charger, Discharger
Hochleistungs Profi Balance
LADER / ENTLADER
13. Save Data Program
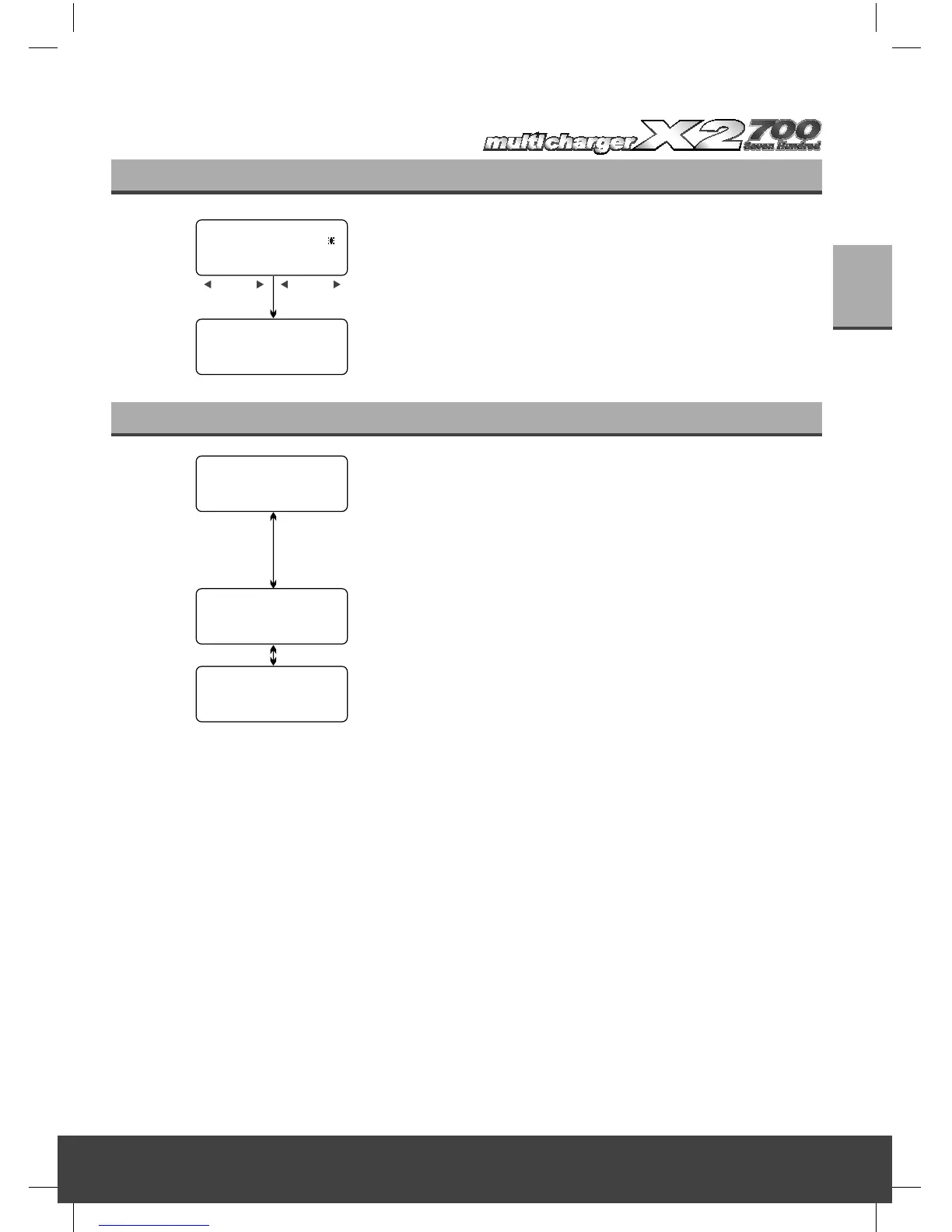
13.1. Load Data Program
This program is designed to load the data stored in the
“save data” program. To get to the save data screen press
the „BATT. TYPE/ STOP“ button until you see the Load
Data screen. Press the „START/ENTER“ key to make the
data fi eld blink and press the „INC“ or „DEC“ keys for at
least 3 seconds to load the data.
Choose the data number you want to call back. The data
you want to call back will be displayed.
Load the data.
Set up the charge/ discharge sequence and cycle number.
Once you have completed the setup procedures press and
hold the „START/ENTER“ key for 3 seconds to save the
data.

Table of Contents

Related product manuals