EasyManua.ls Logo

HKS EVC - Page 21

HKS EVC
52 pages
Print Icon
To Next Page IconTo Next Page
To Next Page IconTo Next Page
To Previous Page IconTo Previous Page
To Previous Page IconTo Previous Page
Loading...
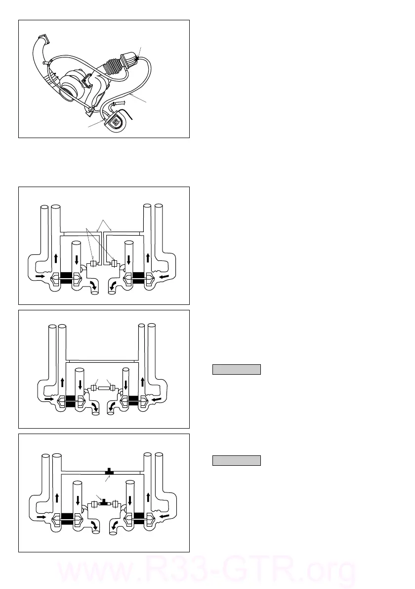
(4)Cutthecenterofeachofthe6mmhosesand
andinserta6x6x6T‑Fittingineach.
  Advice
  ・Use6mmhoseclampstosecurehoses.
(2)Connecttheactuatorsofeachofthetwo
turbochargersusing6mmhose.
(3)Connecteachcompressorofthetwo
turbochargersusing6mmhose.
  Advice
  ・Usethe6mmhoseand6mmhoseclamps.
−20−
2.5.TwinTurboApplications(SwingValveType)
6mmNipple
6mmHose
NippleO
Actuators
Actuators
RemoveThese
IN IN
EX
IN
IN
EX
6mmHose
6x6x6mm
T‑Fitting
Actuator
IN
IN
EX
6mmHose
6mmHose
(6)Installthe6mmnippletothewastegate's
upperport.
(7)Using6mmHose,connecttheEVCStepping
Motor'sNippleOtothe6mmnippleinstalled
onthewastegateinstep#(6).
Toinstallthisunitontoatwinturbovehicle,thehosesetforthetwinturbo
vehicleisneeded.Thebasichoselayoutprocedureissimilarastheswingvalve.
(1)Removethefactoryhosesbetweeneach
turbocharger'scompressorandactuators.
www.R33-GTR.org

Related product manuals