EasyManua.ls Logo

Hologic DISCOVERY Wi - Page 74

Hologic DISCOVERY Wi
274 pages
Print Icon
To Next Page IconTo Next Page
To Next Page IconTo Next Page
To Previous Page IconTo Previous Page
To Previous Page IconTo Previous Page
Loading...
Discovery QDR Series Technical Manual
3-22
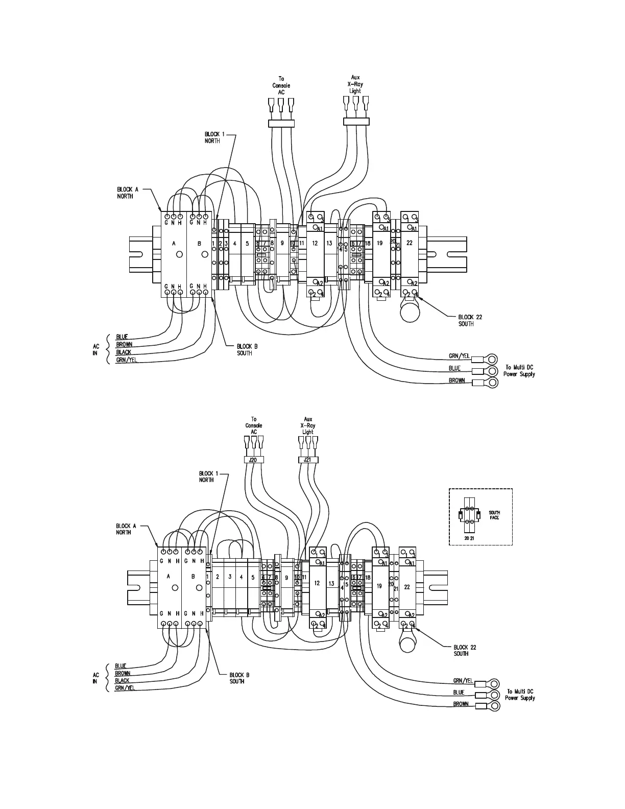
Figure 3-22. DISCOVERY-C and W DIN Rail AC Input/Output Wiring Diagram
Figure 3-23. Discovery-A and SL DIN Rail AC Input/Output Wiring Diagram

Table of Contents

Related product manuals