EasyManua.ls Logo

HP 212A - Page 40

HP 212A
60 pages
Print Icon
To Next Page IconTo Next Page
To Next Page IconTo Next Page
To Previous Page IconTo Previous Page
To Previous Page IconTo Previous Page
Loading...
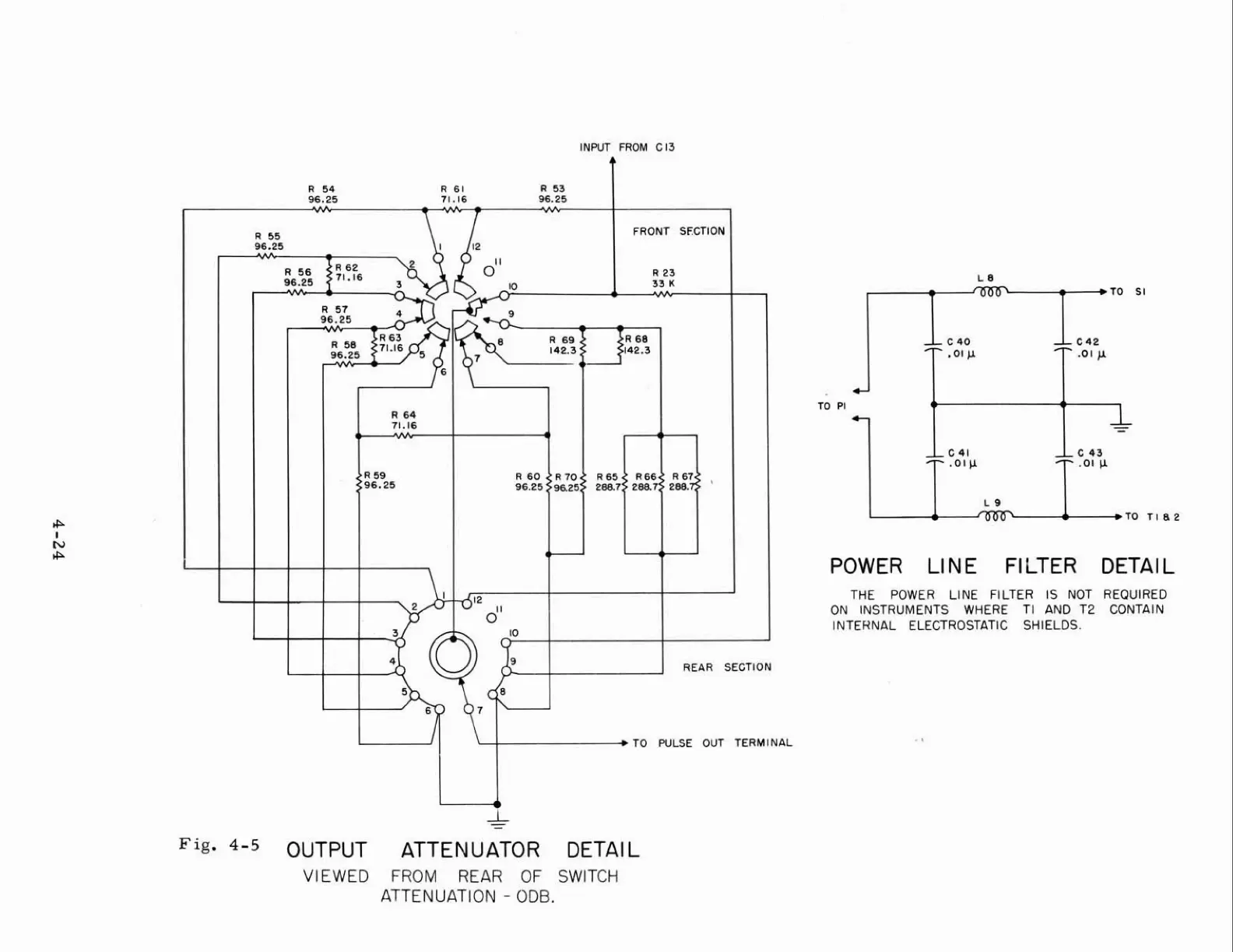
INPUT
FROM
C13
R
61
R
53
71.16
96.25
-1
\-+TO
WLSE
OUT
TERMINAL
1,
-
Fig-
4-5
OUTPUT
ATTENUATOR
DETAl
L
VIEWED
FROM
REAR
OF
SWITCH
ATTENUATION
-
000.
POWER
CINE
FILTER
DETAIL
THE
POWER
LINE
FILTER
1S
NOT
REQUIRED
ON
INSTRUMENTS
WHERE
TI
AND
T2
CONTAIN
l
NTEHNAL
ELECTROSTATIC
SHIELDS.

Related product manuals