EasyManua.ls Logo

HP EliteBook 725 G3 Series - Page 44

HP EliteBook 725 G3 Series
122 pages
Print Icon
To Next Page IconTo Next Page
To Next Page IconTo Next Page
To Previous Page IconTo Previous Page
To Previous Page IconTo Previous Page
Loading...
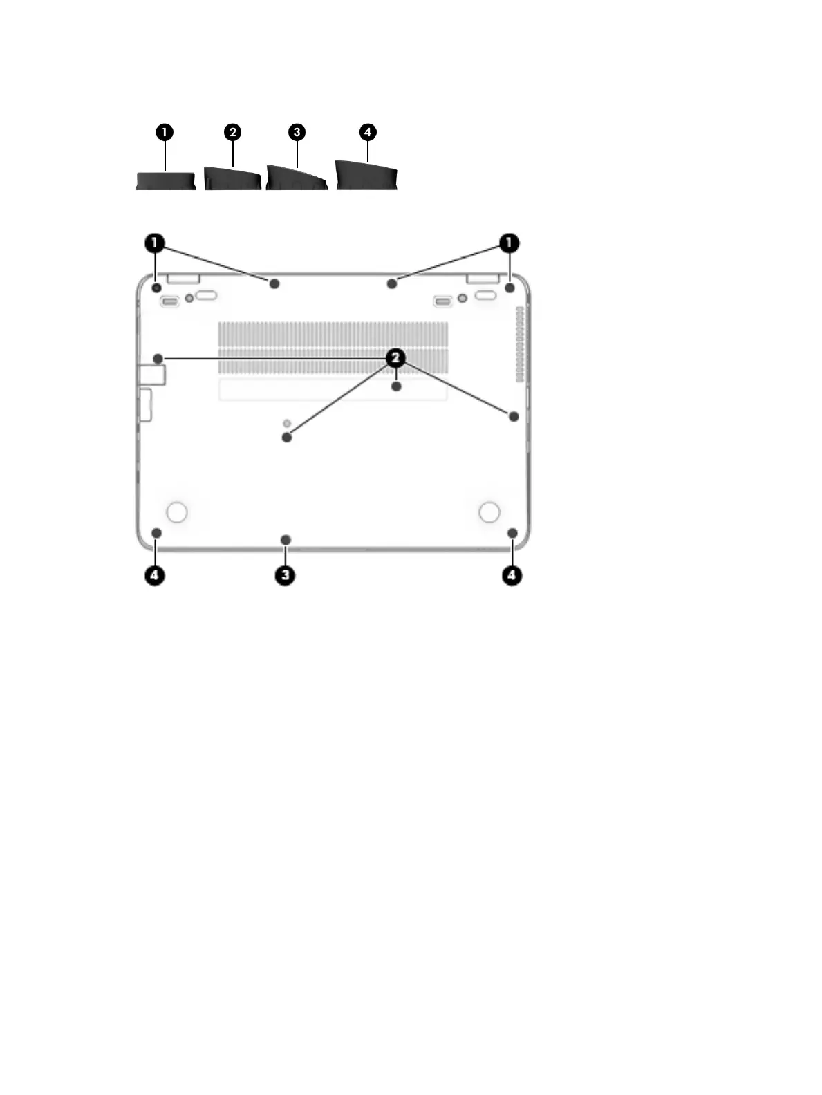
The rubber-plug sizes are as follows.
The rubber-plug locations are as follows.
34 Chapter 5 Removal and replacement procedures for Customer Self-Repair parts

Table of Contents

Related product manuals