EasyManua.ls Logo

Huawei MU736 - Page 72

Huawei MU736
81 pages
Print Icon
To Next Page IconTo Next Page
To Next Page IconTo Next Page
To Previous Page IconTo Previous Page
To Previous Page IconTo Previous Page
Loading...
HUAWEI MU736 HSPA+ M.2 Module
Hardware Guide
Installation
Issue 05 (2014-01-14)
Huawei Proprietary and Confidential
Copyright © Huawei Technologies Co., Ltd.
72
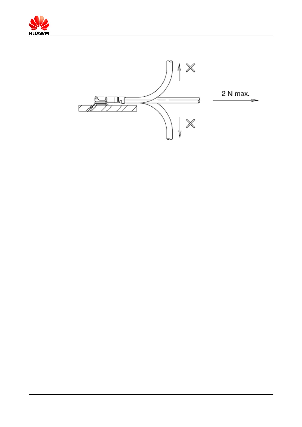
Figure 7-4 Do not apply any pull forces after the bending of the cable

Table of Contents

Related product manuals