EasyManua.ls Logo

Huawei RRU3269 - Page 132

Huawei RRU3269
135 pages
To Next Page IconTo Next Page
To Next Page IconTo Next Page
To Previous Page IconTo Previous Page
To Previous Page IconTo Previous Page
Loading...
RRU3269
Installation Guide
11 Powering On an RRU
Huawei Proprietary and Confidential
Copyright © Huawei Technologies Co., Ltd.
124
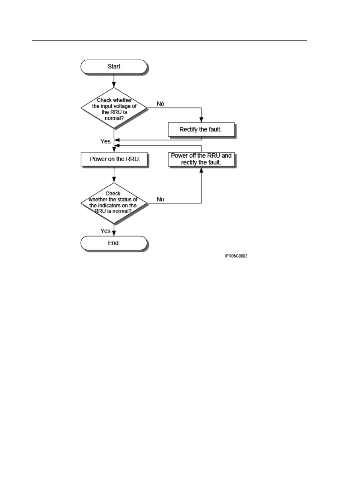
Figure 11-1 RRU power-on check process
(a) The normal input voltage of an RRU is -48 V DC. The voltage of the external power
supply should range from -36 V DC to -57 V DC.
(b) The RUN indicator on the RRU is on for 1s and off for 1s. The ALM indicator is steady
off.

Table of Contents

Related product manuals