EasyManua.ls Logo

Hyster F005 - How to Make the Checks with the Engine Running

Hyster F005
21 pages
Print Icon
To Next Page IconTo Next Page
To Next Page IconTo Next Page
To Previous Page IconTo Previous Page
To Previous Page IconTo Previous Page
Loading...
15
Safety Labels
WARNING
Safety labels are installed on the lift truck to give in-
formation about operation and possible hazards. It
is important that all safety labels are installed on the
lift truck and can be read.
Check that all safety labels are installed in the correct lo-
cations on the lift truck. See the PARTS MANUAL or
the FRAME section of the SERVICE MANUAL for
the correct location of the safety labels.
If new labels must be installed, use the following proce-
dure:
WARNING
Cleaning solvents can be flammable and toxic, and
can cause skin irritation. When using cleaning sol-
vents, always follow the recommendations of the
manufacturer.
a. Make sure the surface is dry and has no oil or
grease. Do not use solvent on new paint. Clean
the surface of old paint with a cleaning solvent.
b. Remove the paper from the back of the label. Do
not touch the adhesive surface.
c. Carefully hold the label in the correct position
above the surface. The label cannot be moved af-
ter it touches the surface. Put the label on the sur-
face. Make sure that all air is removed from under
the label and the corners and edges are tight.
HOW TO MAKE THE CHECKS WITH THE
ENGINE RUNNING
WARNING
FASTEN YOUR SEAT BELT! The seat belt is in-
stalled to help the operator stay on the truck if the lift
truck tips over. IT CAN ONLY HELP IF IT IS FAS-
TENED.
Make sure that the area around the lift truck is clear be-
fore starting the engine or making any checks of the op-
eration. Be careful when making the checks. If the lift
truck is stationary during a check, apply the parking
brake and put the transmission in NEUTRAL. Make the
checks carefully.
Gauges, Lights, Horn, and Fuses
Start the engine. Check the gauges and lights for correct
operation as described in the OPERATING MAN-
UAL. Check the operation of the horn. If any of the
lights or gauges do not operate correctly, check the
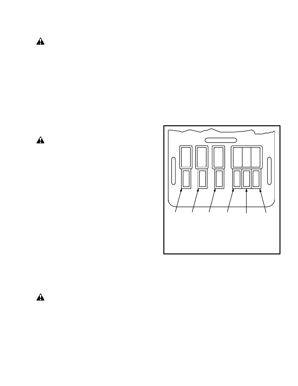
fuses. The fuses are under the instrument panel on the
left side of the cowl. See FIGURE 17.
12200
LIGHT
DSL
COLD
START
HORN
GAGES
XMSN
SHIFT
12
3456
1. GAUGES
2. TRANSMISSION SOLENOIDS
3. HORN
4. COLD START AID (DIESEL)
5. LIGHTS
6. OTHER OPTIONS
LH
&
GAGES
RH
7.5A
FIGURE 17. FUSES
5
25A
30A
10A
5A
5A
PLNG
Oil Level, Powershift Transmission
(See FIGURE 18.)
Apply the parking brake. Check the oil level in the
powershift transmission when the engine is running at
idle speed. If the lift truck has a direction control lever,
put the direction control lever in the NEUTRAL (N) po-
sition. Use the correct oil shown in the MAINTE-
NANCE SCHEDULE. Keep the oil level at the “FULL”
mark on the dipstick. The most accurate check of the oil
level is when the transmission is at operating tempera-
ture.

Related product manuals