EasyManua.ls Logo

Icecrypt S6600HD PVR - Page 17

Icecrypt S6600HD PVR
80 pages
Print Icon
To Next Page IconTo Next Page
To Next Page IconTo Next Page
To Previous Page IconTo Previous Page
To Previous Page IconTo Previous Page
Loading...
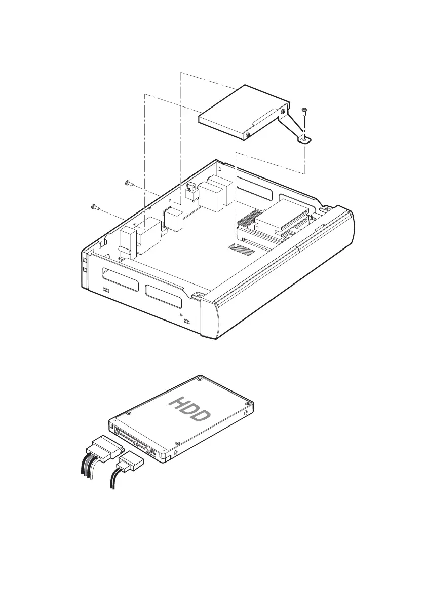
4. Place the hard drive on the receiver base, aligning the holes for the screws,
and fasten the screws.
5. Connect the data cable and power cable between the hard drive and the
motherboard.
6. Put the cover in place and fasten the screws.
I 17

Table of Contents

Related product manuals