EasyManua.ls Logo

ICON PRO-FORM PERFORMANCE 600i - Exploded Drawing

ICON PRO-FORM PERFORMANCE 600i
36 pages
Print Icon
To Next Page IconTo Next Page
To Next Page IconTo Next Page
To Previous Page IconTo Previous Page
To Previous Page IconTo Previous Page
Loading...
32
2
2
2
2
2
2
35
35
102
102
102
102
102
102
1
104
1
104
104
35
1
104
35
35
1
104
1
35
104
1
3
12
53
12
6
54
114
60
55
23
15
15
42
23
10
49
56
12
30
59
23
21
45
48
12
30
59
61
30
12
59
23
43
44
21
100
52
46
19
19
46
25
11
25
11
12
30
59
2
57
2
40
40
47
2
2
10
38
109
116
108
107
10
2
103
15
39
39
39
39
39
39
110
20
73
111
112
112
112
113
10
74
24
52
100
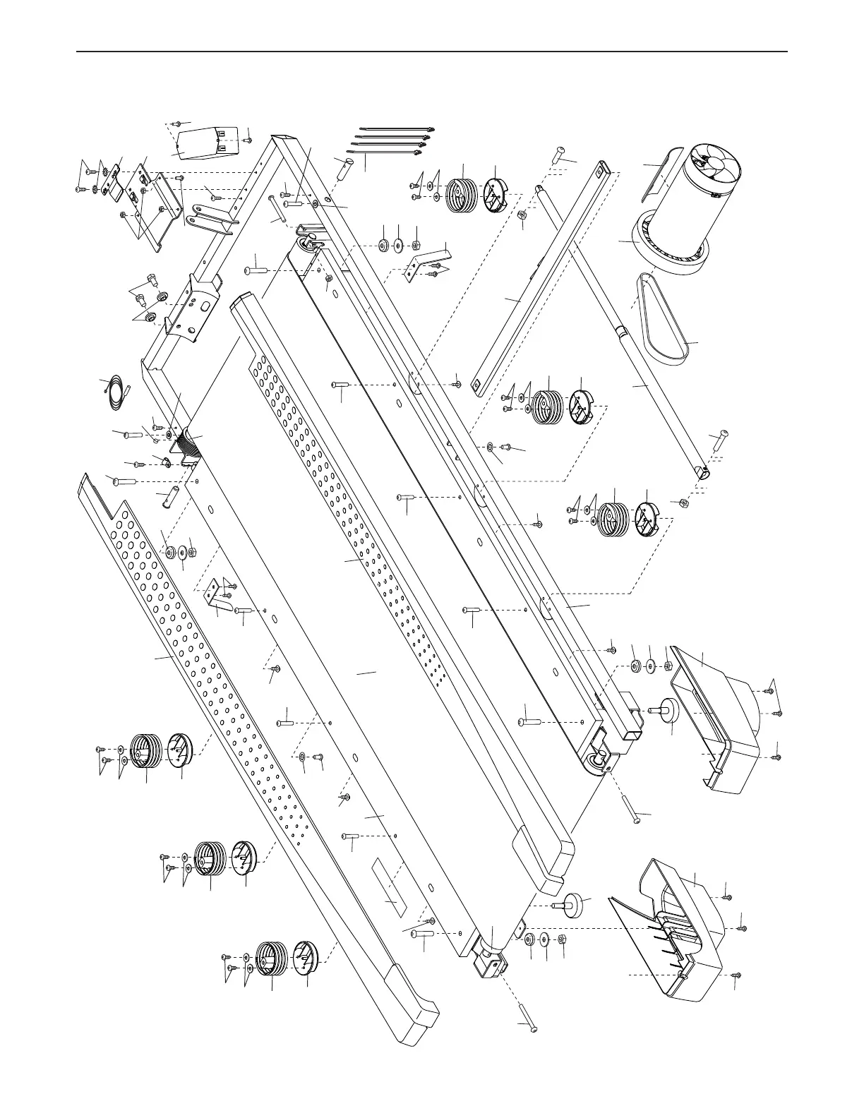
EXPLODED DRAWING A
Model No. PETL99816.0 R0316B

Related product manuals