EasyManua.ls Logo

IDEC MICROSmart FC6A-C24R1CE - Page 382

IDEC MICROSmart FC6A-C24R1CE
604 pages
To Next Page IconTo Next Page
To Next Page IconTo Next Page
To Previous Page IconTo Previous Page
To Previous Page IconTo Previous Page
Loading...
18: P
ULSE
O
UTPUT
I
NSTRUCTIONS
18-86 FC6A S
ERIES
MICROS
MART
L
ADDER
P
ROGRAMMING
M
ANUAL
FC9Y-B1726
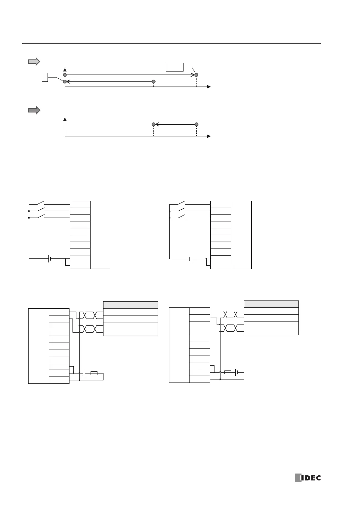
Distances in parentheses have been calculated at 0.01 mm per pulse.
Wiring diagram
Input terminals
Output terminals
DC sink input wiring DC source input wiring
Transistor sink output type Transistor protection source output type
20,000
(20 cm)
30,000
(30 cm)
0
(0 cm)
Specify absolute position mode: disabled
Number of pulses
30,000
20,000
(20 cm)
30,000
(30 cm)
0
(0 cm)
Number of pulses
0
-10,000
Specify absolute position mode: enabled
I0
I1
I2
I3
I4
I5
I6
I7
COM
COM
24V DC
input
FC6A Series MICROSmart
Zero return
External power supply
24V DC
-
+
Start
Stop
I0
I1
I2
I3
I4
I5
I6
I7
COM
COM
24V DC
input
FC6A Series MICROSmart
Zero return
External power supply
24V DC
-
+
Start
Stop
Q0
Q1
Q2
Q3
Q4
Q5
Q6
Q7
COM(
-
)
COM(
-
)
+V
Transistor
sink output
(24 V)
-
+
CW(PLS)
-
CW(PLS)+
CCW(DIR)
-
CCW(DIR)+
Motor driver
FC6A Series MICROSmart
Twisted-pair cables
24V DC
power
Q0
Q1
Q2
Q3
Q4
Q5
Q6
Q7
COM(+)
COM(+)
-
V
Transistor
protection
source output
(24 V)
-
+
CW(PLS)
-
CW(PLS)+
CCW(DIR)
-
CCW(DIR)+
Motor driver
FC6A Series MICROSmart
Twisted-pair cables
24V DC
power

Table of Contents

Other manuals for IDEC MICROSmart FC6A-C24R1CE

Related product manuals