EasyManua.ls Logo

IFM Electronic efector180 IX5010 - Raccordement Électrique

IFM Electronic efector180 IX5010
Print Icon
To Next Page IconTo Next Page
To Next Page IconTo Next Page
To Previous Page IconTo Previous Page
To Previous Page IconTo Previous Page
Loading...
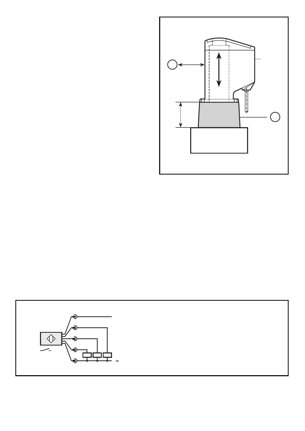
Assurer-vous du positionnement
correct du détecteur.
Assurez-vous qu'il n'y a pas de
matériaux métalliques à proximité
immédiate du détecteur ou qu'au-
cune pièce métallique ne l'ap-
proche durant le fonctionnement
(notamment pas d'anneaux métal-
liques entourant le détecteur ...)!
Ceci pourrait affecter le fonctionne-
ment du détecteur.
Des éléments de fixation, tels que
vis, brides et de petites pièces
métalliques similaires (<20 x 30mm)
n'ont pas d'effet sur le détecteur.
Pour un bon fonctionnement
l'adaptateur (3) doit être en matière
plastique.
3 Raccordement électrique
L'appareil doit être raccordé par un électricien qualifié. Les règlements
nationaux et internationaux relatifs à l'installation de matériel électri-
que doivent être respectés.
Mettez l'installation hors tension avant de raccorder l'appareil comme
suit:
35
3
y
A
X
A = objets métalliques
x = min. 10mm
y = min. 46,5mm
L
+
L
1
5
4
2
3
5: OUT1 = seat
2: OUT2 = close
4: OUT3 = open

Related product manuals