EasyManua.ls Logo

Immergas EOLO Mini - Page 5

Immergas EOLO Mini
48 pages
Print Icon
To Next Page IconTo Next Page
To Next Page IconTo Next Page
To Previous Page IconTo Previous Page
To Previous Page IconTo Previous Page
Loading...
3
STEMkW Special ed 01/08 EOLO Mini kW Special
Technical Documentation
Technical Documentation
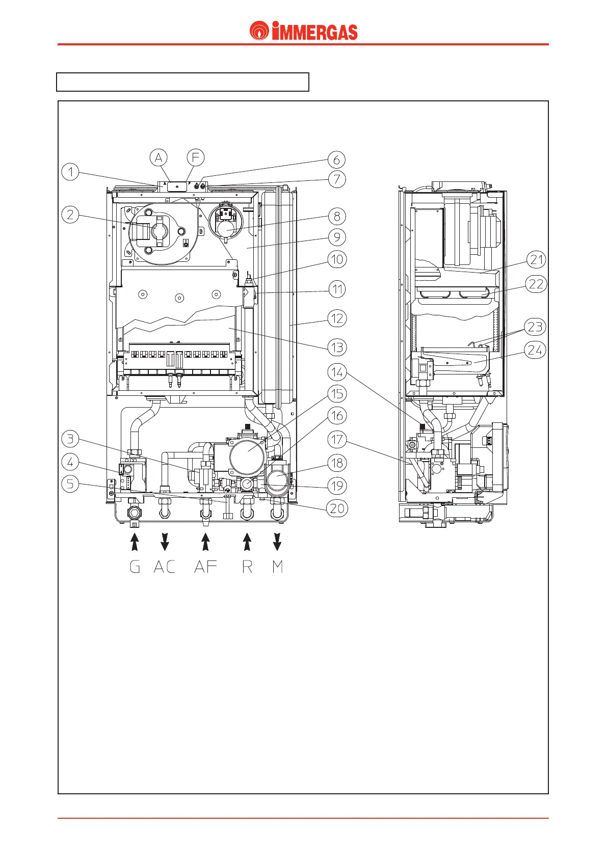
Legend:
1 - Sample point (A air) - (F ue)
2 - Fan
3 - D.h.w. ow switch
4 - Gas valve
5 - Filling valve
6 - Positive signal pressure point
7 - Negative signal pressure point
8 - Flue pressure switch
9 - Sealed chamber
10 - Flow probe
11 - Safety thermostat
12 - System expansion vessel
EOLO Mini 24 kW Special main components.
13 - Combustion chamber
14 - Automatic vent valve
15 - Boiler pump
16 - 3-bar safety valve
17 - D.h.w. heat exchanger
18 - 3-way valve (motorized)
19 - Automatic by-pass
20 - Draining valve
21 - Flue hood
22 - Primary heat exchanger
23 - Ignition and detection electrodes
24 - Burner
Note: Coupling system (OPTIONAL)

Other manuals for Immergas EOLO Mini

Related product manuals