EasyManua.ls Logo

Infiniton CMPTRAL-A64B - Page 15

Infiniton CMPTRAL-A64B
Print Icon
To Next Page IconTo Next Page
To Next Page IconTo Next Page
To Previous Page IconTo Previous Page
To Previous Page IconTo Previous Page
Loading...
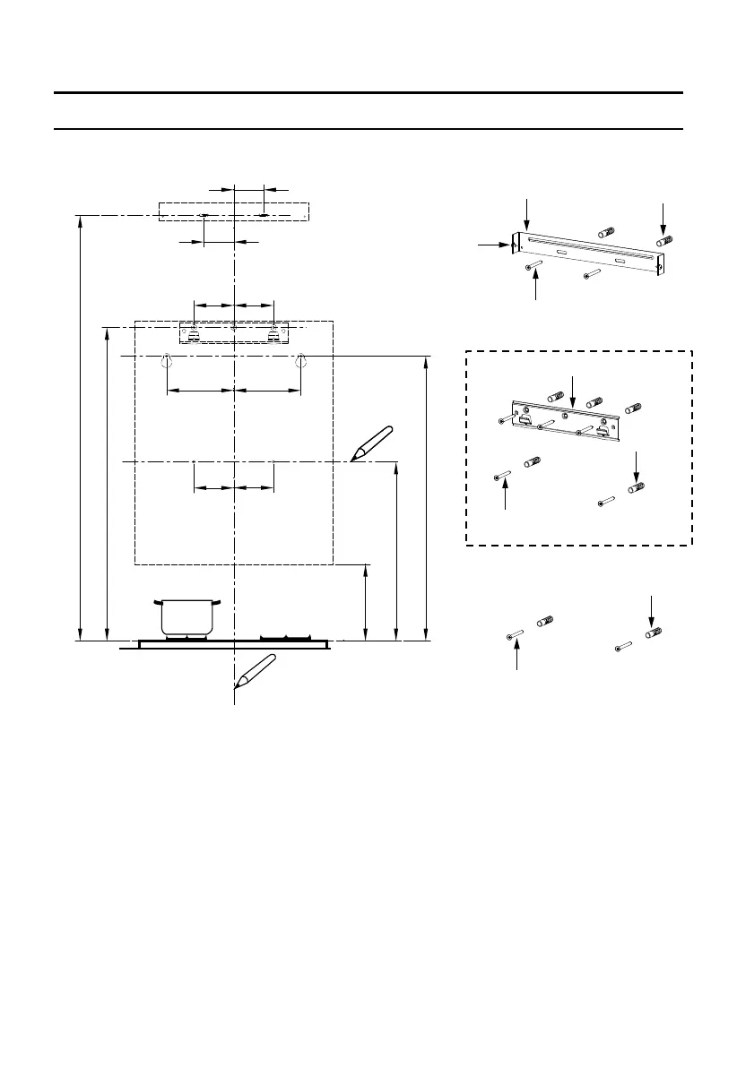
INSTALLATION
WALL DRILLING AND BRACKET FIXING
As a first step, proceed with the following drawings:
A vertical line up to the ceiling or up to the upper limit, at the center of the area in which the
hood is to be fitted.
A horizontal line A at 1320 1700 mm above the cooker top.
A horizontal line B at a minimum 926 (868 optional) mm above the cooker top.
A horizontal line C at a minimum 656 mm above the cooker top.
Mark Points:
Mark a point (1) on the horizontal line A, 60 mm to the right of the vertical reference line.
Repeat this operation on the other side, checking that the two marks are leveled.
Mark a point (2) on the horizontal line B, 80 (135 optional) mm to the right of the vertical
reference line.
Repeat this operation on the other side and on the vertical reference line, checking that the
Optional
12
21
11
11
10
10
20
10
11
80
80
80
135
135
80
60
60
500
656
868
1320 - 1700
926
A
B
B
(OPTIONAL)
C
(1)
(2)
(3)
EN-5

Related product manuals