EasyManua.ls Logo

Infinity BU-150 - Connecting Subwoofers to Satellites; Two Subwoofers Setup (Figure 5); Single Subwoofer Setup (Figure 6)

Infinity BU-150
23 pages
Print Icon
To Next Page IconTo Next Page
To Next Page IconTo Next Page
To Previous Page IconTo Previous Page
To Previous Page IconTo Previous Page
Loading...
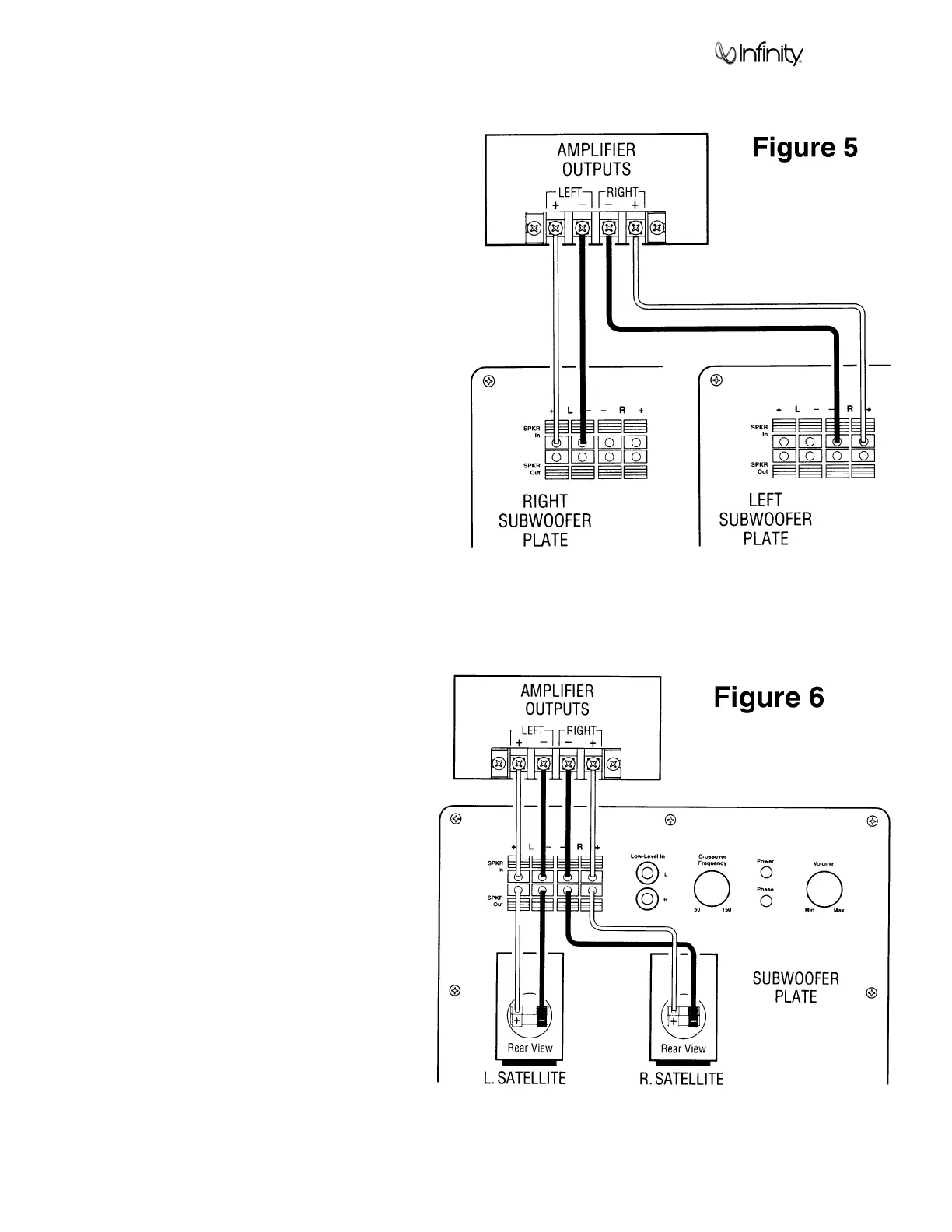
Figure 5.
- Use this method when using two
subwoofers.
Figure 6.
- Use this method when connecting
one subwoofer to satellites.
Depending on whether you are using one or two
subwoofers, connecting your satellites can be
accomplished in one of two ways. If you are using a
single subwoofer with a pair of satellites, connect
them as shown in Figure 7.
9
Amplifier/Subwoofer BU-150

Related product manuals