EasyManua.ls Logo

InFocus IN3128HD - Using the Audio

InFocus IN3128HD
44 pages
Print Icon
To Next Page IconTo Next Page
To Next Page IconTo Next Page
To Previous Page IconTo Previous Page
To Previous Page IconTo Previous Page
Loading...
20
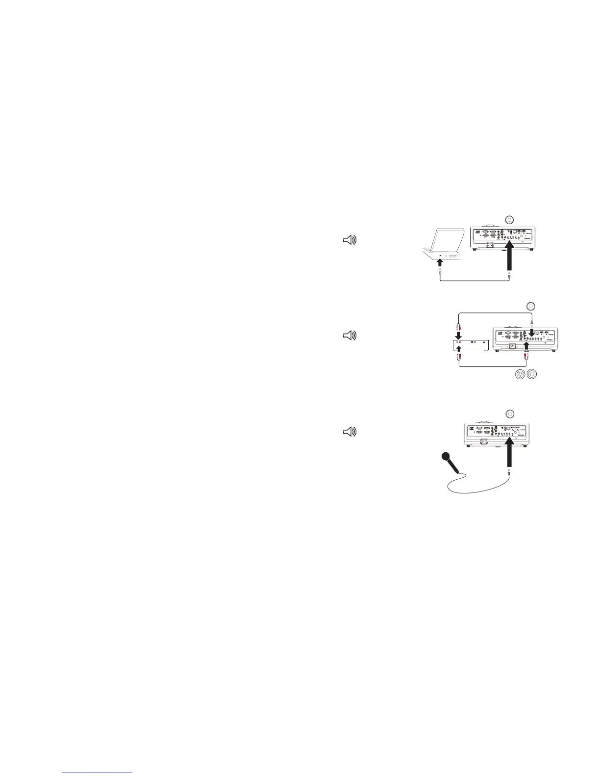
Using the audio
Using the projector’s speakers
Connect the audio source to the Audio 1, Audio 2 or Audio L/R connectors to
hear audio through the projector speakers. You may use the projector’s speakers
by connecting a microphone to the Microphone input connector.
Amplified speakers may also be connected to the projector using the Audio Out
connector.
To adjust the volume, press the Volume buttons on the remote.
Troubleshooting Audio
If you aren’t hearing the audio, check the following:
Make sure the audio cable is connected to the Audio In or Audio L/R
connectors on the projector, and that the other end of the cable is connected
to an Audio Out connector on the source (not a “line-in” or “microphone”
connector).
Make sure the volume is turned up enough. Press the Volume button on the
remote.
Make sure the correct source is active.
Adjust the audio source.
If playing a video, make sure the playback has not been paused.
connect PC audio cable
Video Out
HDMI Out
Audio Out
L R
connect video source audio
cable
connect microphone

Related product manuals