EasyManua.ls Logo

INFOSEC UPS SYSTEM E6 LCD-RT - Ups Default Settings and Their Alternatives

INFOSEC UPS SYSTEM E6 LCD-RT
27 pages
Print Icon
To Next Page IconTo Next Page
To Next Page IconTo Next Page
To Previous Page IconTo Previous Page
To Previous Page IconTo Previous Page
Loading...
INFOSEC UPS SYSTEM – 4 rue de la Rigotière – 44700 Orvault – France – www.infosec-ups.com
Hot Line Tel : +33 (0)2 40 76 15 82 – fax : +33(0)2 40 94 29 51 – hotline@infosec.fr – 04 09 AA XX 201 19
19
V2
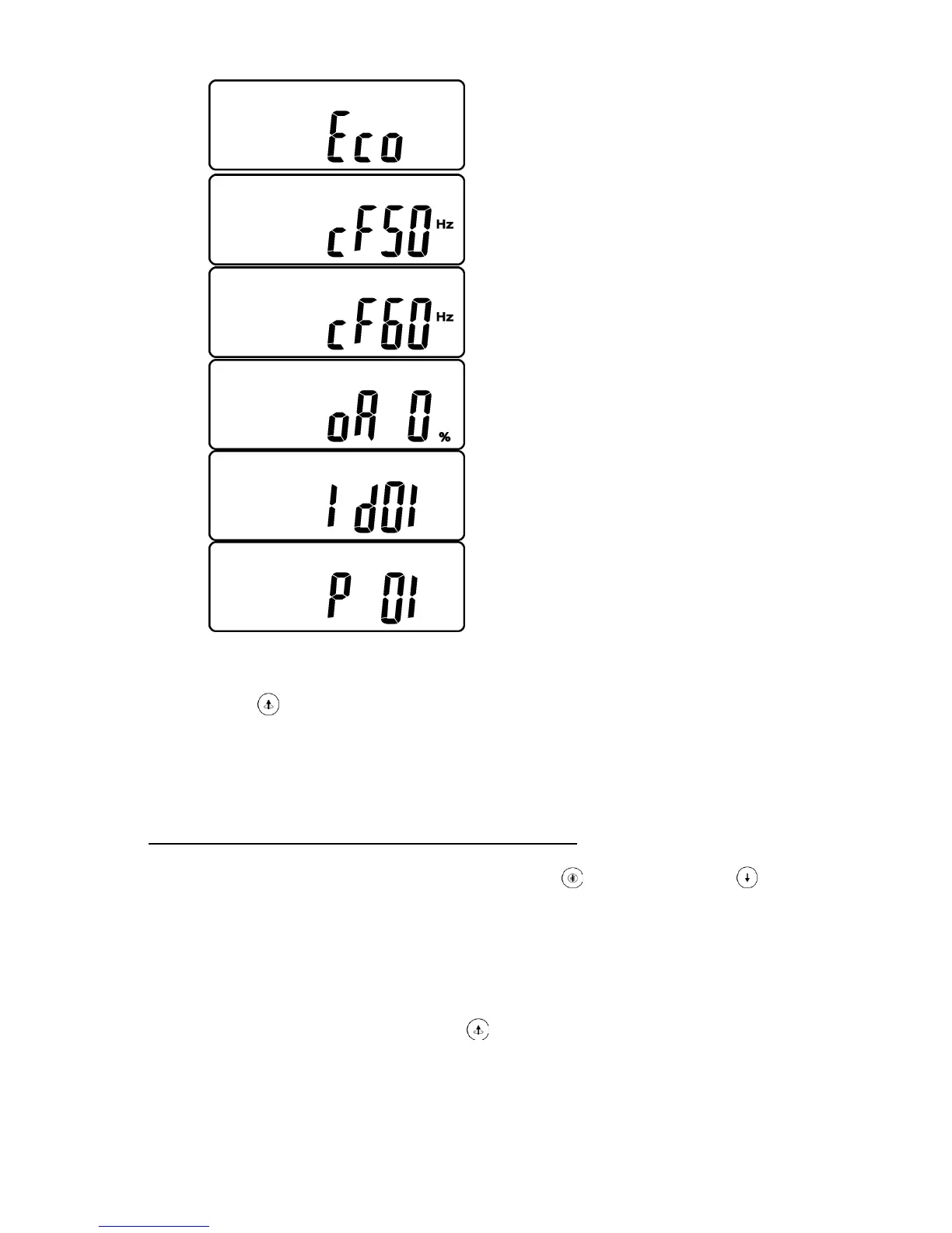
* It shows the UPS is operated in “Eco mode”.
V3 * It shows the UPS is operated in “CVCF 50Hz mode”.
V4
* It shows the UPS is operated in “CVCF 60Hz mode”.
W
* Output Voltage Adjustment % is from 0% to 3% or -0% to -3%.
X
* It shows UPS Identification Number.
Y
* It shows the UPS is in the No. 1st of parallel systems.
3. Press scroll up key pad, you may execute special functions. The Functions includes
buzzer ON (as drawing Q1), or buzzer OFF (as drawing Q2, Alarm silence for UPS Warning)
and self-test OFF (As drawing R1) or self-test ON. (as drawing R2. UPS will execute battery
test for 10 seconds. If the self-test is successful, it will show as Drawing E1; otherwise, it will
show as drawing E2 & error message in the same time.)
3.5.5 UPS Default Settings and their alternatives
1. Make sure the UPS is not “On” yet. Press On Switch and scroll down key pads
simultaneously for approx. 3 seconds, the buzzer will sound twice, the LCD display screen
shows as drawing Q1, then the UPS is under setting mode now.
2. To scroll down the LCD screen, you may refer to Chapter 2
3. Except Buzzer(as drawing Q1 & Q2) and Self-test(as drawings R1 & R2), all the rest default
settings may be changed by pressing scroll up
key pad.
4. Drawings S1 and S2 mean the bypass input acceptable window, it can be 184Vac~260Vac
or 195Vac~260Vac.

Related product manuals