EasyManua.ls Logo

Integra DTR-6.4 - Front Panel Display

Integra DTR-6.4
101 pages
Print Icon
To Next Page IconTo Next Page
To Next Page IconTo Next Page
To Previous Page IconTo Previous Page
To Previous Page IconTo Previous Page
Loading...
DTR-6.4
Index parts and facilities
Rec Out, Zone 2, Off, Level / buttons, and Zone
2 indicator
The Rec Out and Zone 2 buttons allow you to use the DTR-6.4/5.4
to output to a remote zone (Zone 2) or to another component for
recording (Rec Out). Press the Rec Out button to output the audio
signals to a recording component for recording. Press the Zone 2
button to enjoy the output from the DTR-6.4/5.4 in a different room,
which is referred to as the remote zone (Zone 2). When either
button is pressed, the currently selected input source for recording
or outputting to the remote zone is displayed in the front panel
display. If “SOURCE” is displayed, then the same input source as
that selected for the main zone will be output.
To select an input source, press the desired button (Rec Out or Zone
2) and then press one of the input source button within 5 seconds.
That source will be output for recording or viewing in the remote
zone.
To set the output to the source channel, press the desired button
(Rec Out or Zone 2) twice in succession. To turn off the output,
press the Off button. The Zone 2 indicator lights when a signal is
output to the remote zone (Zone 2). When the Zone 2 indicator is
off, then either output to the remote zone is turned off or Rec Out is
selected. Press the Level / buttons to enter the mode for
adjusting the volume in the remote zone (Zone 2).
Note:
The Rec Out and Zone 2 buttons use the same circuit and therefore
cannot be used at the same time. When Rec Out is selected, nothing
is output to Zone 2. When Zone 2 is selected, Rec Out is
automatically fixed to Source.
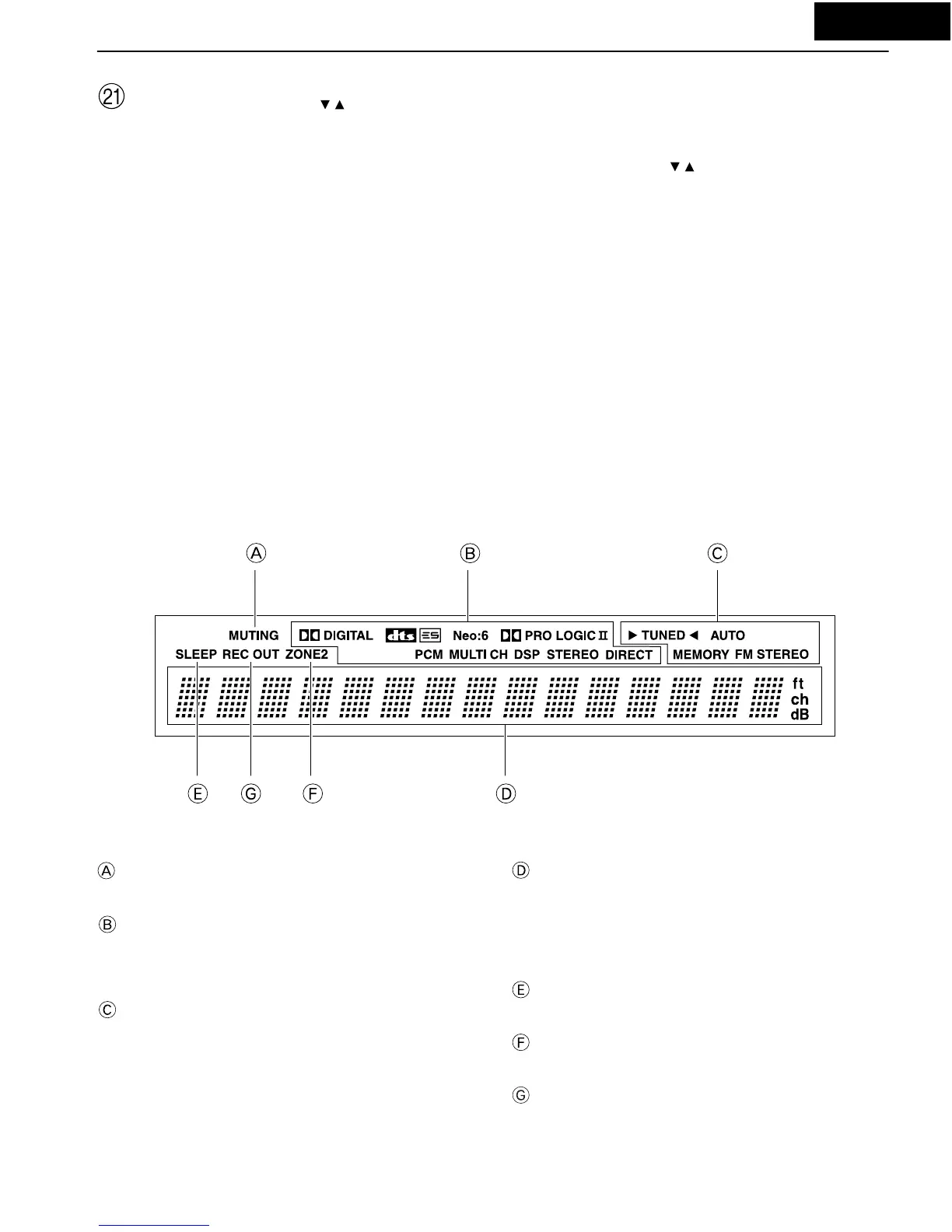
Front panel display
MUTING indicator
Flashes when the mute function is turned on.
Listening mode or digital input format indicators
One of these indicators lights to show the format of the current
input source. In addition, one of the listening mode indicators lights
to indicate the current listening mode.
Tuning indicators
TUNED indicator
Lights when a radio station is received.
AUTO indicator
Lights when receiving FM broadcasts in the stereo mode. Turns
off when placed into the monaural mode.
MEMORY indicator
Lights when the Memory button is pressed to preset a radio
station.
FM STEREO indicator
Lights when an FM broadcast station is received in stereo.
Multi function display
During normal operation, shows the current input source and
volume. When the FM or AM input is selected, shows the frequency
and preset number. When the Display button is pressed, shows the
listening mode and input source format. However, does not show
the source format when the FM or AM source is selected.
SLEEP indicator
Lights when the sleep timer is turned on.
ZONE 2 indicator
Lights when using the remote zone (Zone 2).
REC OUT indicator
Lights when recording the input source from one component to
another (Rec Out)

Related product manuals