EasyManua.ls Logo

Irritrol MC-48E - Program Erase; Erase Single Program

Irritrol MC-48E
40 pages
Print Icon
To Next Page IconTo Next Page
To Next Page IconTo Next Page
To Previous Page IconTo Previous Page
To Previous Page IconTo Previous Page
Loading...
25
Program Review
Use this function to review program parameters. Parameter modication is not allowed while in review mode.
Review the Program’s Parameters
Step 1 – Place the Function Dial to the Program Review position.
Step 2 – Enter the program number being reviewed.
Press the
button to clear any “Key Entry Error”.
Step 3 – Press the following buttons in the order below to review the parameters:
- Review the stations and the corresponding runtimes that are assigned to the selected program. When
pressed twice, MC-E will sequentially display all activated stations and their runtimes. To review
individual stations, enter the station number and press the button.
- Review all assigned start times in the program. When pressed, the MC-E will sequentially display all
start times beginning from the earliest. Review a specic start time by entering the start time number and
pressing the button.
- Review the program water day schedule.
Step 4 – Return the Function dial to AUTO/RUN position to exit Program Review.
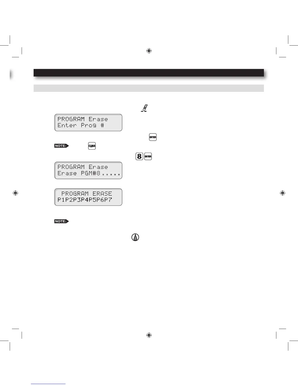
Program Erase
Program Erase – Single Program
Erase Single Program
Step 1 – Place the Function Dial to the Program Erase position.
Step 2 – Enter the program number being erased and press to process.
Press the
button to clear any “Key Entry Error”.
Example: Erase program 8 by pressing the buttons.
Step 3 – After the deletion, the display will show the following.
Repeat Step 2 to delete additional programs.
Erasing a program will revert it back to default. Program default will have no station and runtime
assigned but it will have all Days of the Week (Sunday through Saturday) active.
Step 4 – Return the Function dial to AUTO/RUN position to exit Program Erase.

Related product manuals