EasyManua.ls Logo

Iskra WM3M4 - Display of Device Info; Welcome Screens

Iskra WM3M4
57 pages
Print Icon
To Next Page IconTo Next Page
To Next Page IconTo Next Page
To Previous Page IconTo Previous Page
To Previous Page IconTo Previous Page
Loading...
FIRST STEPS
User’s Manual WM3M4 &WM3M4C
9
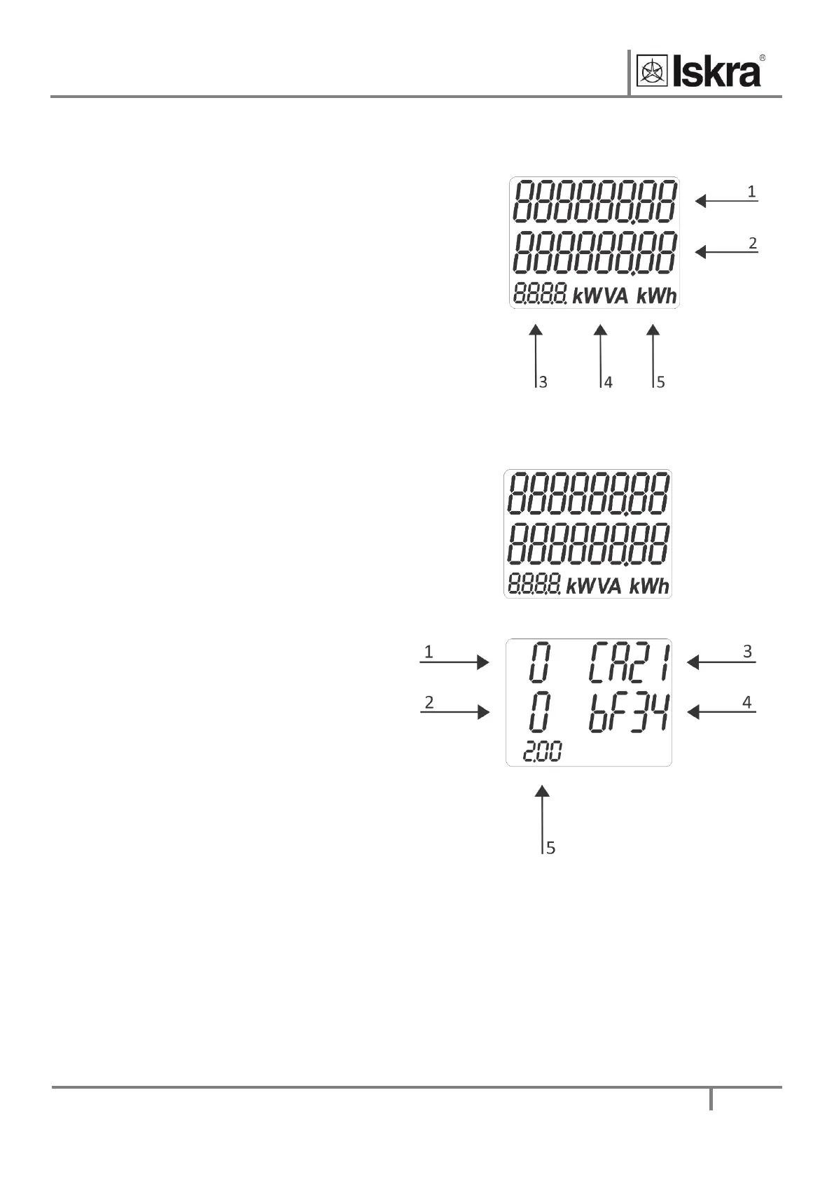
3.1 Display of device info
Energy meters have LCD display with following layout.
Layout of LCD:
1 Total kWh inport
2 User settable line
3 4 digit label
4 kWVA display
5 kWh display
Figure 5: Layout of LCD
3.2 Welcome screens
LCD segment test
Figure 6: LCD segment test
FW identification window
and MID relevant counters:
1 MID unlock counter
2 FW upgrade counter
3 CRC of main FW
4 CRC of measuring
modules FW
5 FW version
Figure 7: FW identification window and MID relevant counters

Related product manuals