EasyManua.ls Logo

ITech IT6015C-80-450S - Page 36

ITech IT6015C-80-450S
211 pages
Print Icon
To Next Page IconTo Next Page
To Next Page IconTo Next Page
To Previous Page IconTo Previous Page
To Previous Page IconTo Previous Page
Loading...
Inspection and Installation
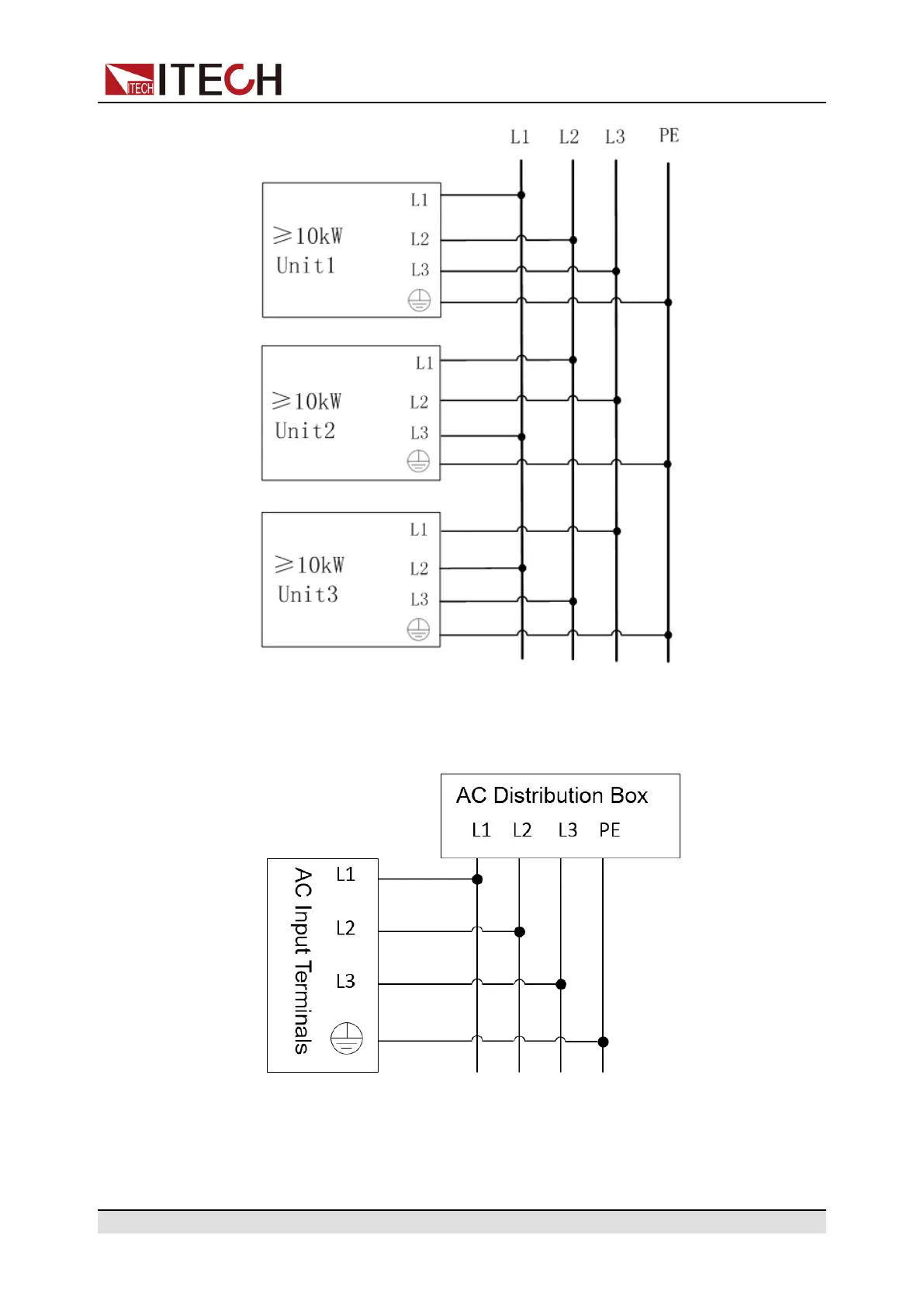
The instrument which rated power great than or equal to 15kW, they already
consume balanced current on all three phases. connecting the power cord
as below.
Operation procedures:
For 3U model (rated power less than or equal to 18kW), see the steps below
to connect the power cable.
Copyright © Itech Electronic Co., Ltd.
24

Table of Contents

Related product manuals