EasyManua.ls Logo

Janis CCS-150 - Page 78

Janis CCS-150
135 pages
Print Icon
To Next Page IconTo Next Page
To Next Page IconTo Next Page
To Previous Page IconTo Previous Page
To Previous Page IconTo Previous Page
Loading...
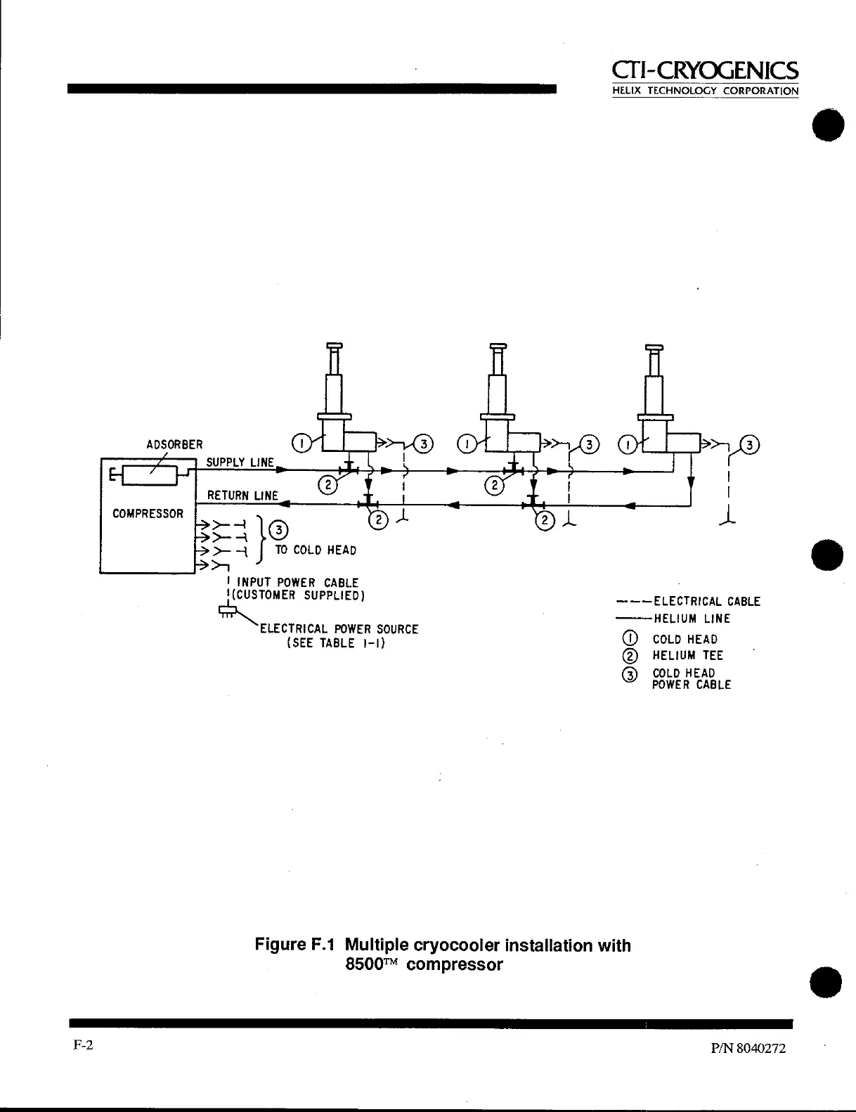
ADSORBER
SUPPLY LINE
RETURN L NE
41
COMPRESSOR
->>-
--I C)
-> >- -1
->>- ---1
TO COLD HEAD
-I-
1
al-CRYOGENICS
HELIX TECHNOLOGY CORPORATION
I INPUT POWER CABLE
!(CUSTOMER SUPPLIED)
ELECTRICAL POWER SOURCE
(SEE TABLE I-I)
---ELECTRICAL CABLE
HELIUM LINE
® COLD HEAD
® HELIUM TEE
0 COLD HEAD
POWER CABLE
Figure F.1 Multiple cryocooler installation with
8500TM compressor
F-2
P/N 8040272

Related product manuals