EasyManua.ls Logo

JAVAC XTR-PRO-DV - Page 12

Default Icon
108 pages
Print Icon
To Next Page IconTo Next Page
To Next Page IconTo Next Page
To Previous Page IconTo Previous Page
To Previous Page IconTo Previous Page
Loading...
13
12
5.0 SET UP AND OPERATION continued
5.3 PURGING THE RECOVERY UNIT
5.3.1 While the recovery machine is running, rotate INLET Valve (V1) to CLOSE position.
5.3.2 Rotate PURGE/RECOVERY valve (V2) to PURGE position. Leave DISCHARGE (V3) open.
5.3.3 Slowly rotate Inlet V1 to PURGE position.
5.3.4 Observe LP gauge and continue to run the unit until a VACUUM is achieved. Switch POWER
OFF and CLOSE the recovery cylinder valve. Return INLET valve (V1) to CLOSE position and close
the V3.
5.3.5 IMPORTANT - Return V2 to RECOVERY Position.
5.3.6 CAUTION - THE DISCHARGE PORT AND HOSE WILL CONTAIN A SMALL AMOUNT OF
REFRIGERANT UNDER PRESSURE. EXERCISE CARE WHEN REMOVING THIS HOSE AND
OPENING V3 VALVE.
5.3.7 REMOVE all hoses and cables and prepare the machine and the recovery
cylinder for transport.
5.3.8 When changing refrigerants or reconnecting to a cylinder always purge the hoses and the
recovery machines ports with refrigerant, (or evacuate lines), to prevent air entering the recovery
process.
SET-UP PROCEDURE FOR PURGE
EN
RECOVERY UNIT
POWER
SOURCE
OPTIONAL
CONNECTION
TO SYSTEM
CYLINDER
WITH
CT-OFD
SCALE
VAPOUR LIQUID
RECOVERY UNIT
VAPOUR
VAPOUR
LIQUID
SYSTEM
POWER
SOURCE
FILTER
CYLINDER
WITH
CT-OFD
SCALE
LIQUID
RECOVERY UNIT
LIQUID
CYLINDER
SCALE
POWER
SOURCE
RECOVERY UNIT
VAPOUR
LIQUID
LIQUID
SYSTEM
CYLINDER
WITH
CT-OFD
SCALE
POWER
SOURCE
FILTER
VALVE POSITIONS FOR PUSH/PULL METHOD
V2
L
I
Q
U
I
D
OPEN CLOSEPURGE
PURGE RECOVER
OPEN
V3
V1
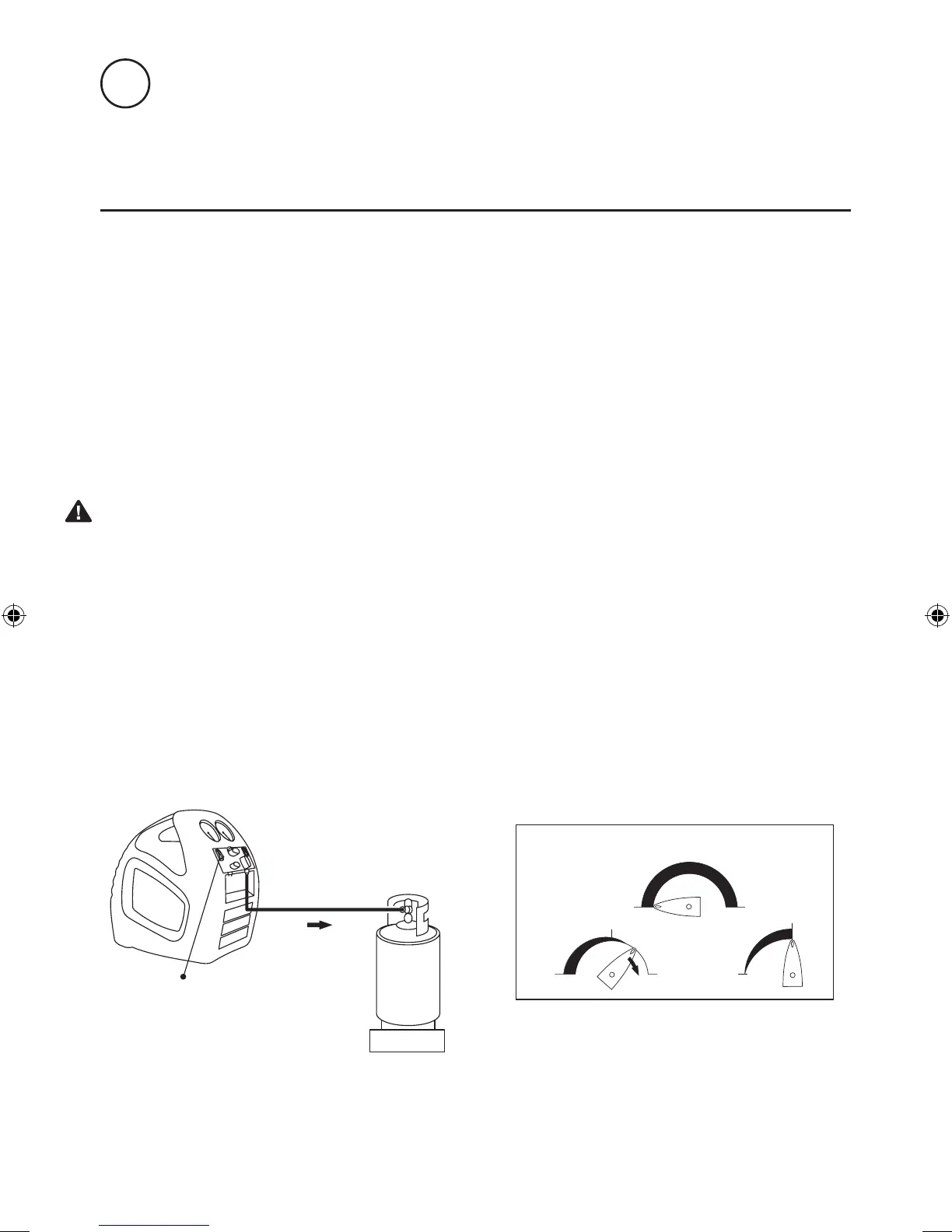
VALVE POSITIONS DURING PURGE OPERATION
V2
L
I
Q
U
I
D
V1
CLOSE
OPEN
CLOSEPURGE
PURGERECOVER
OPEN
V3
VALVE POSITIONS DURING SUB-COOLING METHOD
V2
L
I
Q
U
I
D
V1
CLOSE
OPEN
CLOSEPURGE
PURGE RECOVER
OPEN
V3
VALVE POSITIONS DURING NORMAL RECOVERY
V2
L
I
Q
U
I
D
V1
CLOSE
OPEN
CLOSEPURGE
PURGERECOVER
OPEN
V3
RECOVERY UNIT
POWER
SOURCE
OPTIONAL
CONNECTION
TO SYSTEM
CYLINDER
WITH
CT-OFD
SCALE
VAPOUR LIQUID
RECOVERY UNIT
VAPOUR
VAPOUR
LIQUID
SYSTEM
POWER
SOURCE
FILTER
CYLINDER
WITH
CT-OFD
SCALE
LIQUID
RECOVERY UNIT
LIQUID
CYLINDER
SCALE
POWER
SOURCE
RECOVERY UNIT
VAPOUR
LIQUID
LIQUID
SYSTEM
CYLINDER
WITH
CT-OFD
SCALE
POWER
SOURCE
FILTER
VALVE POSITIONS FOR PUSH/PULL METHOD
V2
L
I
Q
U
I
D
OPEN CLOSEPURGE
PURGE RECOVER
OPEN
V3
V1
VALVE POSITIONS DURING PURGE OPERATION
V2
L
I
Q
U
I
D
V1
CLOSE
OPEN
CLOSEPURGE
PURG
ER
ECOVER
OPEN
V3
VALVE POSITIONS DURING SUB-COOLING METHOD
V2
L
I
Q
U
I
D
V1
CLOSE
OPEN
CLOSEPURGE
PURGE RECOVER
OPEN
V3
VALVE POSITIONS DURING NORMAL RECOVERY
V2
L
I
Q
U
I
D
V1
CLOSE
OPEN
CLOSEPURGE
PURGERECOVER
OPEN
V3
XTRC2A2L-JAV-1059-PRO-DV-safe-op-manual-A5-180pp.indd 12 10/01/2018 12:29

Table of Contents

Related product manuals