EasyManua.ls Logo

jcb JS220 - Page 281

jcb JS220
531 pages
To Next Page IconTo Next Page
To Next Page IconTo Next Page
To Previous Page IconTo Previous Page
To Previous Page IconTo Previous Page
Loading...
31 - 13
Section E
Hydraulics
9803/6400
Section E
31 - 13
Issue 1
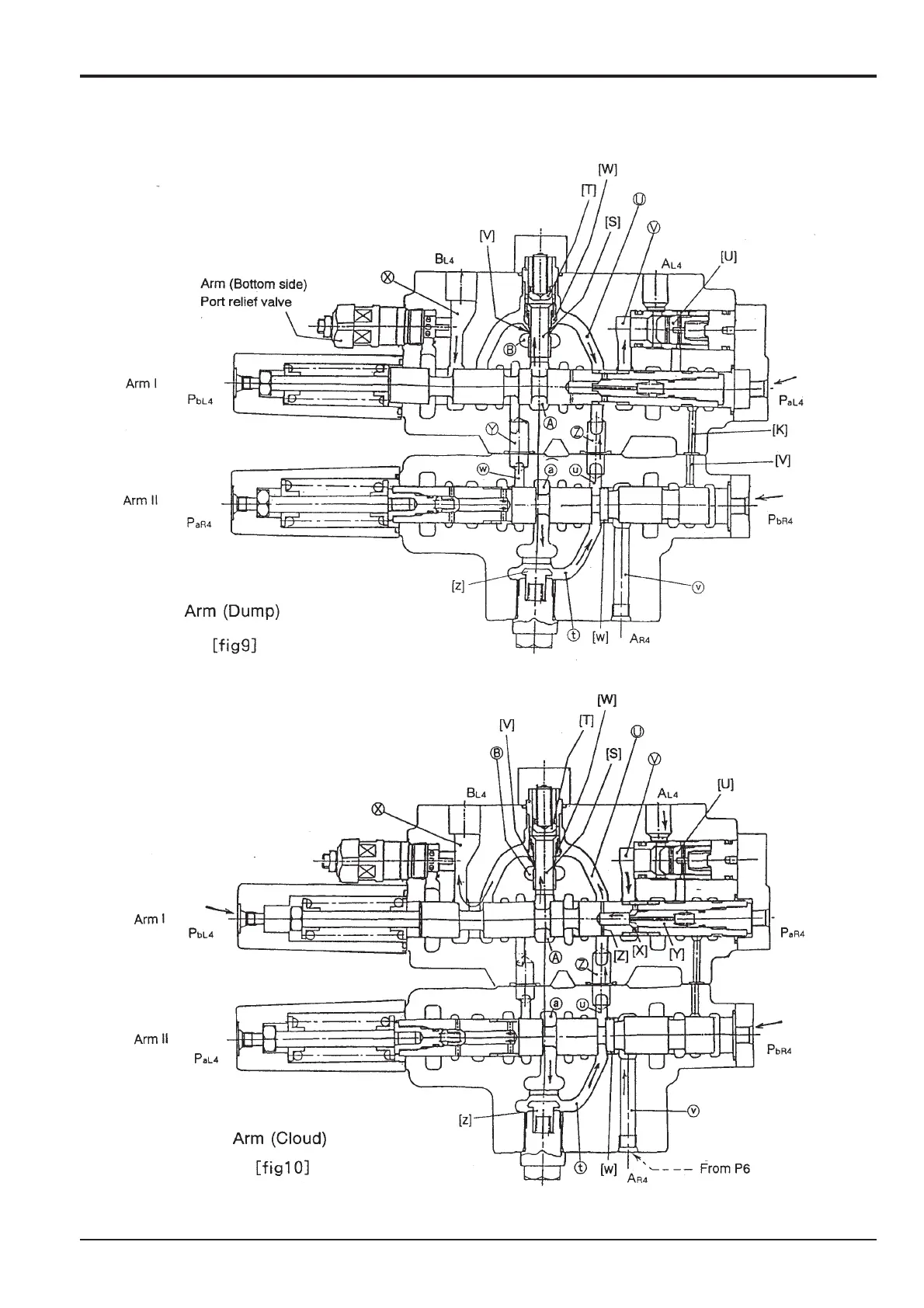
Control Valve JS200/JS240
Operation (continued)

Table of Contents

Other manuals for jcb JS220

Related product manuals