EasyManua.ls Logo

jcb JS220 - Page 336

jcb JS220
531 pages
Print Icon
To Next Page IconTo Next Page
To Next Page IconTo Next Page
To Previous Page IconTo Previous Page
To Previous Page IconTo Previous Page
Loading...
60 - 3
Operation (continued)
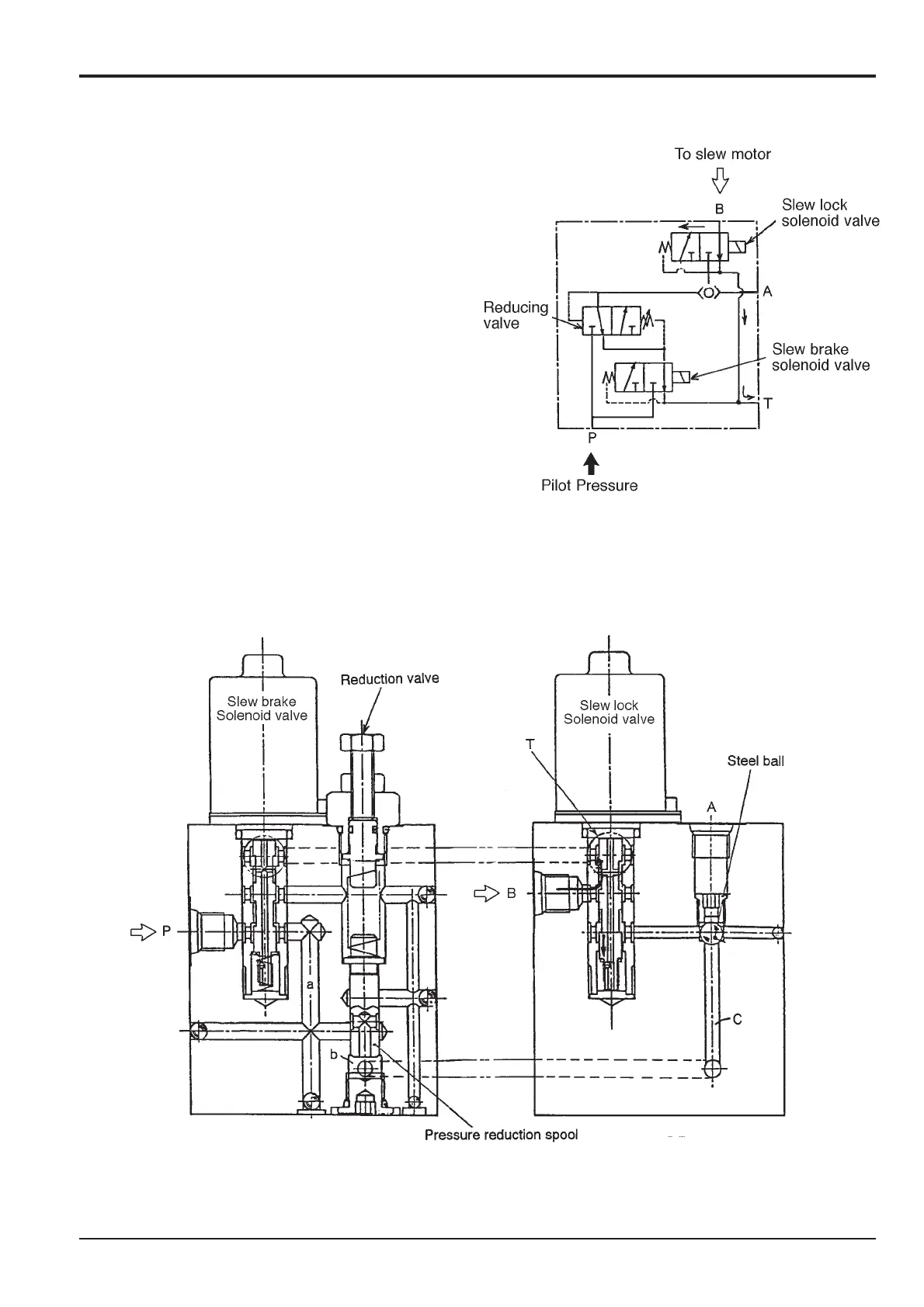
Hydraulic Slew Brake - 100% Engagement
When the solenoid valve for slew lock is put ON (locking the
slew lock switch), the spool moves downwards. The
pressurised oil from passageway C is stopped by the spool.
Also, the pressurised oil from port B of the slew motor flows
through the spool passage and to the tank port.
Because the pressurised oil for brake release runs off to the
tank due to the solenoid for slew lock being selected, the
slew motor brake gallery pressure is fully applied onto the
brake.
Section E
Hydraulics
9803/6400
Section E
60 - 3
Issue 2*
Stacked (Slew Brake) Valve
*
*

Table of Contents

Other manuals for jcb JS220

Related product manuals